2002-2006 Volvo Trucks VN VHD Version2 Service & Repair Manual
What's Included?
Lifetime Access
Fast Download Speeds
Offline Viewing
Access Contents & Bookmarks
Full Search Facility
Print one or all pages of your manual
Service Bulletin Volvo Trucks North America, Inc. Greensboro, NC USA Date Group No. Page 3.2004 171 16 1(16) Trucks This Service Bulletin replaces Service Bulletin 171–16 “Erecting Roof Air Fairing VN VERSION2” (07.2003), Publication number PV776–TSP195349. Erecting Roof Air Fairing VN VERSION2 Erecting Roof Air Fairing When VN–series vehicles equipped with roof air fairings are shipped to the dealer, the fairing is not assembled. The front center part of the fairing is in place, laying down on the roof. This is so the overall height of the vehicle is reduced when it is transported, “piggy-backed”. Additional parts are shipped in a box strapped to the frame. Note: If the vehicle is driven while the air fairing is still in its collapsed position, a vibration and wind sounds are heard. These noises are not heard when the air fairing is erected, however, this is normal and poses no problem. After the vehicle is received, the roof air fairing needs to be erected. The fairings are designed for assembly with minimum aligning; however, make sure that the fairing does not touch the roof anywhere along the bottom edge. For Parts information see: VN–430, VN–Day Cab “Roof Air Fairing Parts” page 2 VNM-200 “Roof Air Fairing Parts” page 6 VN–430 “Parts List” page 3 VN–Day Cab “Parts List” page 4 Aero Extenders “Parts List” page 5 For installation procedures see: VN–430 “Roof Air Fairing, Installation” page 7 VN–Day Cab “Roof Air Fairing, Installation” page 11 VNM–200 “Roof Air Fairing, Installation” page 15 Aero Extenders “ Aero Extender Installation” page 14 You must read and understand the precautions and guidelines in Service Information, group 80, “General Safety Practices” before performing this procedure. If you are not properly trained and certified in this procedure, ask your supervisor for training before you perform it. PV776-20 000062 USA14485
Volvo Trucks North America, Inc. Date Group No. Page Service Bulletin 3.2004 171 16 2(16) Roof Air Fairing Parts W8003431
Volvo Trucks North America, Inc. Date Group No. Page Service Bulletin 3.2004 171 16 3(16) Parts List VN 430 FIBERGLASS 802915 - roof extender LH 8085268 - roof side LH 8082916 - roof extender RH 8085269 - roof side RH 3187232 - top center section BRACKETS 8080948- brkt. (2) 24424933 - strut 8083841 - brkt. 24424934 - strut 8083842 - brkt. 8077794 - strut (2) 8084823 - brkt. (2) 8077221 - strut (2) HARDWARE KIT Part # 20458333 945444 22 Flange screw M8 x 25 948645 28 Flange lock nut M8 x 9, 4 983586 12 Flange screw M8 x 30 x sst 8002052 4 Pop rivet 19 x 40 946934 6 Flange screw M6 *20 8081375 12 Washer 8, 6 x 22 8 1, 5 sst 949278 8 Flange lock nut M6 x 7,3 976944 28 Washer 8, 4 x 22 x 2 947760 4 Flange screw M8 x 40 976943 4 Washer 6, 4 x 18 x 2 8142629 2 Six pt. socket screw M6 x 19 x 20 946671 4 Flange screw M8 x 30 8397273 4 Washer 10, 2 x 38 x 4,8 980479 4 Washer 10, 5 x 34 x 3
Volvo Trucks North America, Inc. Date Group No. Page Service Bulletin 3.2004 171 16 4(16) Parts List VN Day Cab FIBERGLASS 8082915 roof extender LH 8083397 - roof side LH 8082916 roof extender RH 8083398 - roof side RH 20447326 top center section std 8089033 top center section backlight BRACKETS 8077794 - strut (2) 24424933 – support bracket LH (1) 24424934 – support bracket RH (1) HARDWARE KIT Part # 20458333 945444 22 Flange screw M8 x 25 948645 28 Flange lock nut M8 x 9, 4 983586 12 Flange screw M8 x 30 x sst 8002052 4 Pop rivet 19 x 40 946934 6 Flange screw M6 *20 8081375 12 Washer 8, 6 x 22 8 1, 5 sst 949278 8 Flange lock nut M6 x 7, 3 976944 28 Washer 8, 4 x 22 x 2 947760 4 Flange screw M8 x 40 976943 4 Washer 6, 4 x 18 x 2 8142629 2 Six pt. socket screw M6 x 19 x 20 946671 4 Flange screw M8 x 30 8397273 4 Washer 10, 2 x 38 x 4, 8 980479 4 Washer 10, 5 x 34 x 3
Volvo Trucks North America, Inc. Date Group No. Page Service Bulletin 3.2004 171 16 5(16) Parts List Aero Extenders Note: The Aero extender is optional. If the driver elects to have the extenders, a new kit is provided. See parts list below. W8003485 A: Flange Screw M6 x 20, #946934 12 required. B: Washer #976943 12 required. C: M6 Flange Lock Nut #949278 12 required. D: Air Deflector. Aero Roof Extender 20543321 LH, 1 required. 20543322 RH, 1 required.
Volvo Trucks North America, Inc. Date Group No. Page Service Bulletin 3.2004 171 16 6(16) Roof Air Fairing Parts W8003483
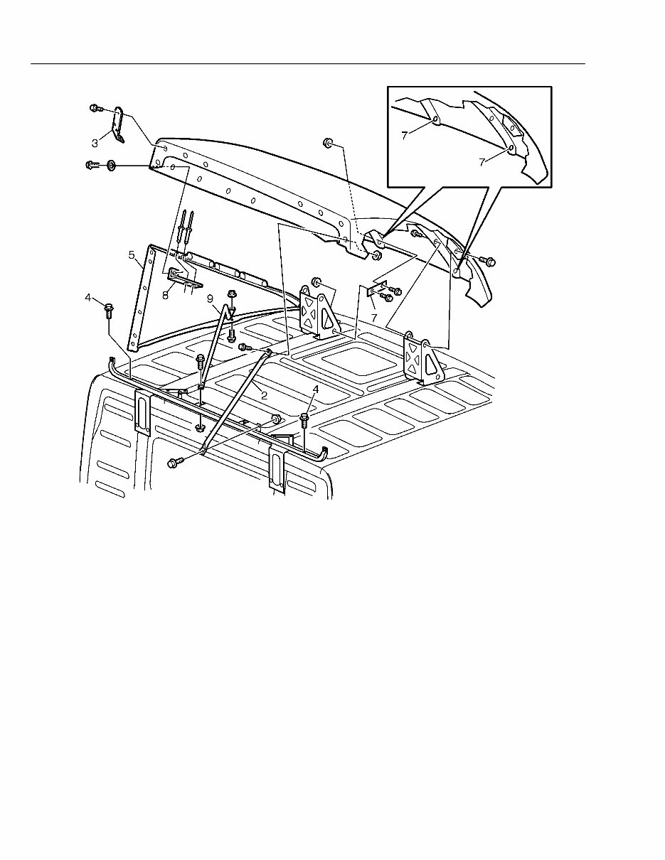
Volvo Trucks North America, Inc. Date Group No. Page Service Bulletin 3.2004 171 16 7(16) 1711-02-03-01 Roof Air Fairing, Installation VN 430 You must read and understand the precautions and guidelines in Service Information, group 80, “General Safety Practices” before performing this procedure. If you are not properly trained and certified in this procedure, ask your supervisor for training before you perform it. For general information about erecting the air fairing, see “Erecting Roof Air Fairing” page 1. Information regarding Aero Extenders is on page 14. W8003044 Note: All steps correspond to call-outs in illustrations. Note: Discard unused parts in kit. Lifting Fairing from Transport Position 1 To raise the fairing, remove the two bolts securing the top panel of the air fairing to the top of the transport brackets.
Volvo Trucks North America, Inc. Date Group No. Page Service Bulletin 3.2004 171 16 8(16) W8003045 2 Use part no. 945444. Connect the rear support rods to the cab bracket. Raise the top air fairing panel and connect each end of the two rods. 3 Remove the two rear transport brackets and the six angle brackets along the side of the top air fairing panel. Installation 4 Use part no. 945444. Install the two bolts used to secure the transport brackets to the cab bracket. These bolts seal the hole and prevent water from entering.
Volvo Trucks North America, Inc. Date Group No. Page Service Bulletin 3.2004 171 16 9(16) 5 Use part no. 983586. Install the right and left air fairing side panels. Note: Leave bolts loose. Note: The bolt and washer used in this step is stainless steel. 6 Secure and torque all fasteners. Note: Raise the fairing to its highest point when securing the rear supports. 24 ± 4 Nm (18 ± 3 ft-lb). 7 Layout and drill the two 7mm (9/32”) holes in the left and right side top panel of the air fairing. Drill holes and secure the brackets. Use part no. 946934. See blown out illustration of step 7. Note: The two holes in the front mounting bracket already exist. 8 Layout and drill four 5mm holes needed to secure the bracket connecting the top panel to the rear side panel. Secure the bracket to the side panel using rivets, part no. 8002052. Drill a 10mm hole in either side of the top panel using the secured bracket as a guide. Using part no. 983586, secure the top panel to the bracket. Note: Use the bracket for the opposite side as a template for drilling. Secure the brackets with the supplied rivets. Swage the rivets to the bracket and not the fiberglass. 9 Use part no. 949278 and 946934. Install the two lower support rods that secure the cab bracket to the lower side panels. Note: Install the bracket to the side panel before the cab bracket.
Volvo Trucks North America, Inc. Date Group No. Page Service Bulletin 3.2004 171 16 10(16) W8003046 10 Use part no. 947760 (M8 x 40) and 945444. Install and secure the left and right side deflectors. 11 Use part no. 946671. Install and secure the left and right side deflector support rods and plates. Note: These plates are not to sandwich the sheet moulding compound (SMC). The plates are offset to provide more stability for the surface area. See blown out illustration showing steps 10 and 11. Note: Information regarding Aero Extenders is on page 14.
Get the complete workshop service and repair manual for the Volvo Trucks VN, VHD Version2 Series produced between 2002 and 2006. This manual covers all styles and is suitable for both professional mechanics and DIY enthusiasts.
With over 7,000 pages and a file size of 206MB, this manual is searchable and printable, providing detailed illustrations and step-by-step instructions for all repair procedures. It is an invaluable resource for maintaining and servicing your vehicle, offering detailed sub-steps, cautions, warnings, and numbered instructions to guide you through each repair procedure.
Additionally, this manual includes troubleshooting and electrical service procedures, along with detailed wiring diagrams for ease of use. It is available in PDF format, compatible with all PC-based Windows operating systems and Mac.
Language: English
Total Pages: more than 7,000 pages
File Format: PDF (Windows & Mac & Linux)
Delivery: Instant download link displayed on the checkout page & emailed to you after payment
Protection: DRM-free; without any restriction
Printable: Yes
For purchase, simply click the instant download button near the product picture. Paypal & Credit Card accepted.