Linde Electric Pallet Truck Type 360: T16, T18, T20 Operating Instructions (User Manual)
What's Included?
Lifetime Access
Fast Download Speeds
Online & Offline Access
Access PDF Contents & Bookmarks
Full Search Facility
Print one or all pages of your manual
360 804 25 11 - 0504 1 1 Operating instructions T 16 - T 18 - T 20 360 804 25 11 03/97
Linde - Your Partner Linde AG Linde Material Handling Division Linde, an enterprise operating worldwide in the investment and service sector, is one of the large industrial enterprises in the EC with its three business segments and six divisions. The Linde Material Handling division is a leading manufac- turer of industrial trucks and hydraulics. It includes eight manufacturing plants in the Federal Republic of Germany, France and Great Britain, as well as subsidiaries and bran- ches in all economically impor- tant countries. Linde industrial trucks enjoy a worldwide reputation - thanks to their high quality in engineering, performance and service. Werk II, Aschaffenburg-Nilkheim Werk I, Aschaffenburg Lansing Linde Ltd., Basingstoke Fenwick-Linde, Châtellerault Werk III, Kahl am Main Linde Heavy Truck Division Ltd., Merthyr Tydfil
360 804 25 11 - 0504 2 Acceptance of the lift-truck Before leaving our factory, the truck is subjected to detailed checks in order to ensure that the equipment reaches you in perfect operational condition and fully equipped as ordered. Your local representative will then conduct a final inspection and, on delivery of the equipment, will provide you with all necessary information for its operation and servicing. In order to avoid any subsequent claims, please make a careful and personal inspection in order to ensure that the truck is in perfect order, complete with all fittings, at the time of delivery. The truck is supplied with the following documents: 1 - Operating manual. 1 - Spare parts catalogue. 1 - Battery servicing manual (electric trucks delivered with battery). 1 - Charger instruction manual (for trucks delivered with separate chargers). 1 - Certificate of conformity (manufacturer’s certification that the machine complies with European standards). 1 - VDMA booklet regarding directives on the use of Handling Trucks in accordance with specified applications and regulations. We wish you good use and complete satisfaction. Technical notes It is expressly prohibited to photocopy, translate or convey this manual or any part thereof to a third party without written permission from LINDE. LINDE is constantly striving to improve its products. For this reason, we reserve the right to modify designs, equipment and technical specifications without notice. Consequently, no claims can be entertained in relation to the specifications, illustrations or descriptions appearing in this manual. If you have any queries about your truck, or any orders for spare parts, please submit these to your local representative along with your address. For repairs, be sure to use only original LINDE parts. Only by doing so will you be able to maintain your truck to its technical standard when first delivered. When ordering spare parts, give the following information in addition to the part numbers: - Truck type; - Manufacturer’s number / year of manufacture; - Mast serial number (for fork-lift trucks). Upon delivery of your truck, we suggest that you make a note of its numbers on this page. LINDE truck offers you the best in performance, safety and driving comfort. It is up to you to ensure a long life for these qualities, and to learn how to make the most of their benefits. Accessories must be used in conformity with the direc- tions for use supplied with the equipment. Follow the instructions applicable to the truck delivered to you, and carry out regular inspections and services in accordance with the maintenance schedule, using the specified materials. This manual contains everything you need to know about running in, driving, servicing and maintaining your truck. Where they appear in the text, the terms ‘front’, ‘rear’, ‘right’ and ‘left’ refer to the fitted position of components in relation to the forward motion of the truck. Special uses The LINDE lift-truck is designed for stacking and transporting the loads indicated in the “load capacity” table. Please pay attention to the VDMA booklet “Safety rules governing the use of handling trucks”. The safety rules governing the use of handling trucks must be observed by service personnel and by the user. The user must take responsibility for any failure to observe these rules; in this event, the manufacturer disclaims all responsibility. Should you wish to use the truck for operations other than those indicated in the directions for use, please contact your local representative. No modification may be made on your truck, in particular the fitting of accessories, or any structural changes, without the manufacturer’s approval. Servicing operations must be carried out by qualified personnel authorised by LINDE. These operations must be recorded in a service booklet, as both the validity of the guarantee and the perfect operation of the equipment depend on their being properly carried out. Your
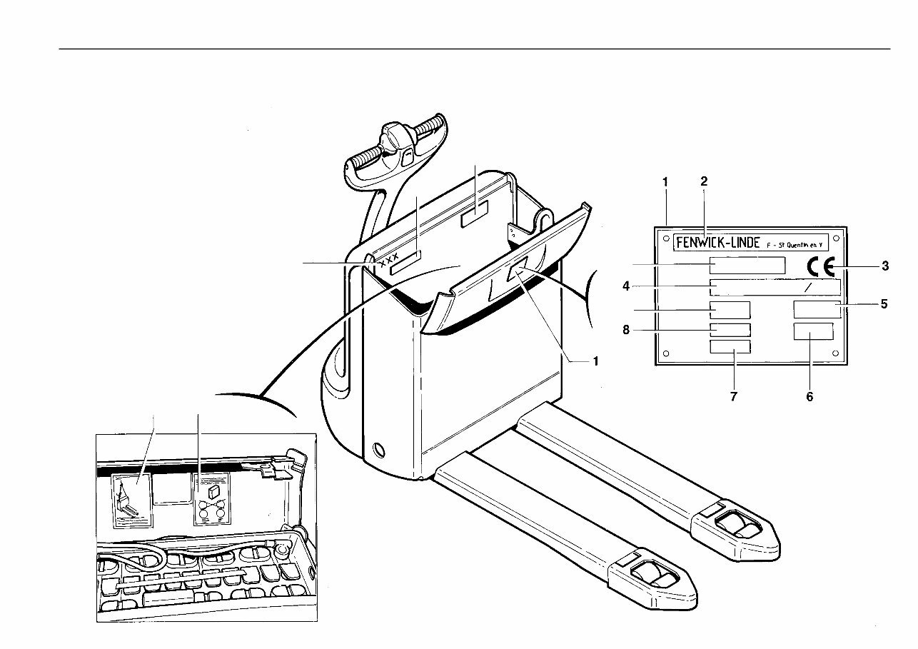
360 804 25 11 - 0504 3 Plates and labels 9 10 15 14 11 13 12 Identification plates 1. Identification plate 2. Manufacturer 3. EC mark (this plate certifies that the machine conforms to European regulations applicable to handling trucks) 4. Serial number / year 5. Unladen weight 6. Battery voltage 7. Minimum battery weight 8. Maximum battery weight 9. Nominal load capacity of truck 10. Model 11. Manufacturer’s number (stamped) Labels 12. Slinging label 13. Battery safety label (inside cover) 14. Charger label 15. Battery label Note: regularly check that the equipment in service is fitted with these various plates and labels
360 804 25 11 - 0504 4
360 804 25 11 - 0504 5 Description Plates and labels ............................................................. 3 Technical specifications ................................................. 6 Technical description ...................................................... 7 General view ..................................................................... 8 Controls ............................................................................ 9 Indicators ........................................................................ 10 Combination hour meter (operation) ........................... 10 Discharge limiter / indicator ......................................... 10 Operation Daily checks and tasks prior to operation Safety rules ..................................................................... 11 Definition of safety terms .............................................. 11 Use of materials ............................................................ 11 Periodic inspections of the truck .................................. 12 Operating recommendations ....................................... 12 Checks prior to initial operation ................................... 12 Daily checks prior to use .............................................. 12 Checking the forward/reverse and lift/lower controls .................................................... 13 Checking braking system ............................................... 13 Checking the safety reverse button ............................. 13 Checking the horn operation ........................................ 13 Checking the battery charge state ............................... 14 Opening the battery cover ............................................. 14 Connecting / disconnecting the battery connector ........................................................................ 15 Charging the battery with a in-built charger* ................. 16 Replacing the mains plug on the truck after recharging ............................................................... 16 Automatic disconnection of charging in the event of a probleme .............................................. 16 Electrical characteristics of the charger ......................... 16 Recharging the battery using an external charger ............................................................................ 17 Checking the condition of the battery cables, terminals and connector ............................................... 17 Checking the electrolyte level, and topping up with water ............................................. 18 Checking the electrolyte specific gravity ...................... 18 Removal/replacement of the battery ............................ 19 Changing the battery using a hoist.................................. 19 Changing the battery using a gantry (front exit model)................................................ ................. 19 Fuses .............................................................................. 32 Checking the electrolyte level, and topping up with water ........................................................................ 32 Checking the electrolyte specific gravity ...................... 32 Checking the condition of the battery cables, terminals and connector .............................................. 33 Cleaning the battery and battery compartment .......... 33 Maintenance every 500 hours Checking and adjusting the brake control .................. 34 Checking and adjusting the belt tension .................... 34 Checking the hydraulic fluid level ................................ 35 Checking for leaks in the hydraulic system ................ 35 Checking the condition and fastening of electrical cables and connections ............................... 36 Cleaning the electrical panel ........................................ 36 Cleaning and checking contacts for wear ................... 36 Inspection/replacement of the traction motor brushes ................................................................ 37 Checking miscellaneous joints ................................... 37 Maintenance every 1000 hours Inspection/replacement of the pump motor brushes ................................................................ 38 Cleaning the hydraulic filter .......................................... 38 Checking the mechanical fitting of components ........ 38 Maintenance every 2000 hours Changing the hydraulic fluid ......................................... 39 Recommended lubricants ............................................ 40 Hydraulic system diagram ............................................ 41 Electrical circuit diagram ........................................ 42-49 Index ........................................................................... 50/51 Driving Instructions for use ........................................................ 20 Starting ............................................................................ 20 Indication of the direction of travel ............................... 20 Forward travel / Reverse travel ..................................... 21 Reversing the direction of travel .................................. 21 Safety reverse button ..................................................... 21 Starting on a slope ........................................................ 22 Steering ........................................................................... 22 Turning angle ................................................................. 22 Braking, lifting, lowering, horn Mechanical brakes ......................................................... 23 Countercurrent braking ................................................. 23 Automatic LBC braking ................................................. 23 Lifting / lowering the forks ............................................. 23 Horn control .................................................................... 23 Loadhandling Loading ........................................................................... 24 Transporting the load .................................................... 24 Unloading ....................................................................... 25 Before leaving the truck ................................................. 25 Lifting, towing Slinging the truck ........................................................... 26 Jacking the truck ............................................................ 26 Transport and storage of the truck ............................... 26 Maintenance General information ....................................................... 27 Inspection and maintenance after first 50 hours of operation * ................................................. 27 Inspection and maintenance schedule ................. 28-29 Maintenance as required Cleaning the truck .......................................................... 30 Checking the tightness of the wheel nuts ................... 30 Checking the condition of the wheels ......................... 30 Fitting and adjustment of the stabiliser wheel ........... 30 Opening the front cover ................................................. 31 Pull the flexible cover clear to access the reduction gearbox and the motor ................................. 31 Page Page Page Table of contents
360 804 25 11 - 0504 7 T 16, T 18 and T 20 pallet trucks are high-performance machines, designed for intensive use. Their small size, ease of handling and responsiveness make them particularly suitable for loading and unloading operations. The range of these machines covers the capacities of 1600, 1800 and 2000 kg. Drive Power is supplied by a 24 V high-capacity drive battery. An automatically ventilated electric motor, equipped with sensors on the most powerful models to regulate the speed, drives the drive wheel through a 2-stage gearbox: - 1st stage by belt and pulley - 2nd stage by gears greased for life contained in a housing. The traction motor is controlled by a speed controller with MOSFET transistors, specifically developed by LINDE for this product range. This controller offers excellent efficiency and allows opti- mum control of the speed, acceleration and reverse braking. On the most recent models equipped with the LDC (Linde Digital Control) controller, this is controlled by a microprocessor which offers numerous adjustment possibilities and is equipped with a failure auto-diagnosis system. NB: As an alternative, there is a more traditional starting system with resistors and contactors. On this latter model, the speed changes are, however, controlled by an electronic circuit. Hydraulic system A compact motor pump unit, consisting of a motor, pump, tank, filter and descent valve, supplies the two lifting jacks of the fork arms. Lifting system - This is activated by 2 jacks, and is equipped with 2 torque arms, activating the bogies. - All the hinge pins are treated to be abrasion-proof and corrosion-resistant, and the pivot rings are self-lubricating. Handling A long, sturdy and ergonomic drawbar allows the truck driver to steer the drive and guide wheel effortlessly. The various controls - forward, reverse, raising and lowering of the fork and horn - are grouped together at the end of the drawbar. For safety reasons, the drawbar, under the action of a gas jack, automatically rises to an upright position when released. Braking A shoe brake situated on the countershaft of the gearbox is controlled by the position of the drawbar. The parking brake is applied automatically when the drawbar is released. Gradual and controlled reverse braking is obtained by the inversion of the direction of movement. On some models, this braking is automatically controlled on the release of the accelerator; this is the LBC (Linde Brake Control) automatic braking system. Built-in charger* This totally automatic charger, of the high-frequency switching power supply type, provides full and satisfactory recharging of the 24 V batteries from 160 to 240 Ah. The charging is controlled by a microprocessor and indicator lights situated on the control panel of the pallet truck. - Single-phase supply 220 V 50 Hz ** - Effective current input 8 A - Charging current 30 A at start of charging **Other voltages and frequencies available as an option. * OPTIONAL EXTRA Technical description Description
360 804 25 11 - 0504 8 General view T 16-18-20 1. Battery plug handle 2. Battery cover opening handle 3. Electric control unit 4. Motor-pump assembly 5. Battery cover 6. Battery 7. Horn 8. Load wheels 9. Forks 10. Lift cylinders 11. Traction wheel 12. Reduction gearbox 13. Stabilizer wheels 14. Traction motor 15. Power cable compartment 16. In built charger* 17. Front cover 18. Tiller 19. Document holder * Optional equipment
These factory manuals for Linde Electric Pallet Truck Type 360 are essential resources for both professional mechanics and DIY enthusiasts. The manuals contain high-quality images, circuit diagrams, and detailed instructions to assist in the operation and repair of the T16, T18, and T20 models.
Format: 52 Pages
Language: English
The manuals cover a wide range of topics including technical specifications, operation, driving instructions, load handling, maintenance schedules, and detailed maintenance procedures. They provide comprehensive guidance on daily checks, safety rules, battery maintenance, driving instructions, load handling, lifting and towing, as well as detailed maintenance schedules and procedures.
With detailed descriptions, indicators, and controls, these manuals offer valuable insights into the operation and maintenance of Linde Electric Pallet Trucks. Whether it's daily checks, battery maintenance, load handling, or scheduled maintenance, these manuals provide the necessary information to keep the trucks in optimal condition.
Inspection and maintenance after first 50 hours of operation
Maintenance as required
Maintenance every 500 hours
Maintenance every 1000 hours
Maintenance every 2000 hours
Additionally, the manuals include detailed diagrams such as the hydraulic system diagram and electrical circuit diagram, providing a comprehensive understanding of the truck's components and systems.
Recently Viewed
5,521,897Happy Clients
2,594,462eManuals
1,120,453Trusted Sellers
15Years in Business
Price:
Actual Price:
Linde Electric Pallet Truck Type 360: T16, T18, T20 Operating Instructions (User Manual)