Toyota 5FB10, 5FB14, 5FB15, 5FB18, 5FB20. 5FB25, Full Service & Repair Manual
What's Included?
Lifetime Access
Fast Download Speeds
Online & Offline Access
Access PDF Contents & Bookmarks
Full Search Facility
Print one or all pages of your manual
RETURN TO: MAIN INDEX RETURN TO: SERVICE MANUAL INDEX GENERAL CONTROL CIRCUIT MULTIDISPLAY FUNCTIONS ELECTRICAL SYSTEM TROUBLESHOOTING MATERIAL HANDLING SYSTEM MAST CYLINDERS APPENDIX 5FB10-30
FOREWORD TOYOTA MOTOR CORPORATION This manual covers the service procedures of the TOYOTA FORKLIFT 5FB10 ~ 30 series. Since this manual describes alterations made in the vehicles being pro- duced in January 1994, it is supplement to the existing repair manuals for the 5FB10 ~ 30 series. Any alterations after January 1994 will be announced in the Toyota Parts & Service News. Section Index
0-2 EXTERIOR VIEWS
0-3 VEHICLE MODELS FRAME NUMBER
0-4 HOW TO READ THIS MANUAL EXPLANATION METHOD Operation procedure The operation procedure is described in either pattern A or pattern B below. Pattern A: Explanation of each operation step with a photo or illustration. Pattern B: Explanation of operation procedure by indicating step numbers in one illustration, followed by explanation of cautions and notes summarized as point operations. Example of description in pattern B DISASSEMBLY·INSPECTION·REASSEMBLY Tightening torque unit T = N·m (kg-cm) [ft-lb] If a place or part cannot be indicated directly, the part name is described on the either side of the illustration. Example: 1 Piping Disassembly Procedure Remove the cover. [Point 1] Remove the bush [Point 2] Operation explained later Remove the gear. Point operations Explanation of key point for operation with an illustration [Point 1] Disassembly: Put a match mark when removing the pump cover. [Point 2] Inspection: Measure the bush inside diameter. Bush inside diameter limit: 19.12 mm (0.7528 in) 1. (1) 1 2 3
0-5 How to read components figures (Example) Matters omitted in this manual This manual omits description of the following jobs, but perform them in actual operation: Cleaning and washing of removed parts as required Visual inspection (partially described) TERMINOLOGY Caution: Important matters of which negligence may cause accidents. Be sure to observe them. Note: Important items of which negligence may cause accidents, or matters in operation procedure re- quiring special attention. Standard: Values showing allowable range in inspection and adjustment. Limit: Maximum or minimum allowable value in inspection or adjustment. ABBREVIATIONS The components figure uses the illustra- tion in the parts catalog for the vehicle model. Please refer to the catalog for checking the part name. The number at the right shoulder of each components figure indicates the Fig. num- ber in the parts catalog. 2. 3. (1) (1)
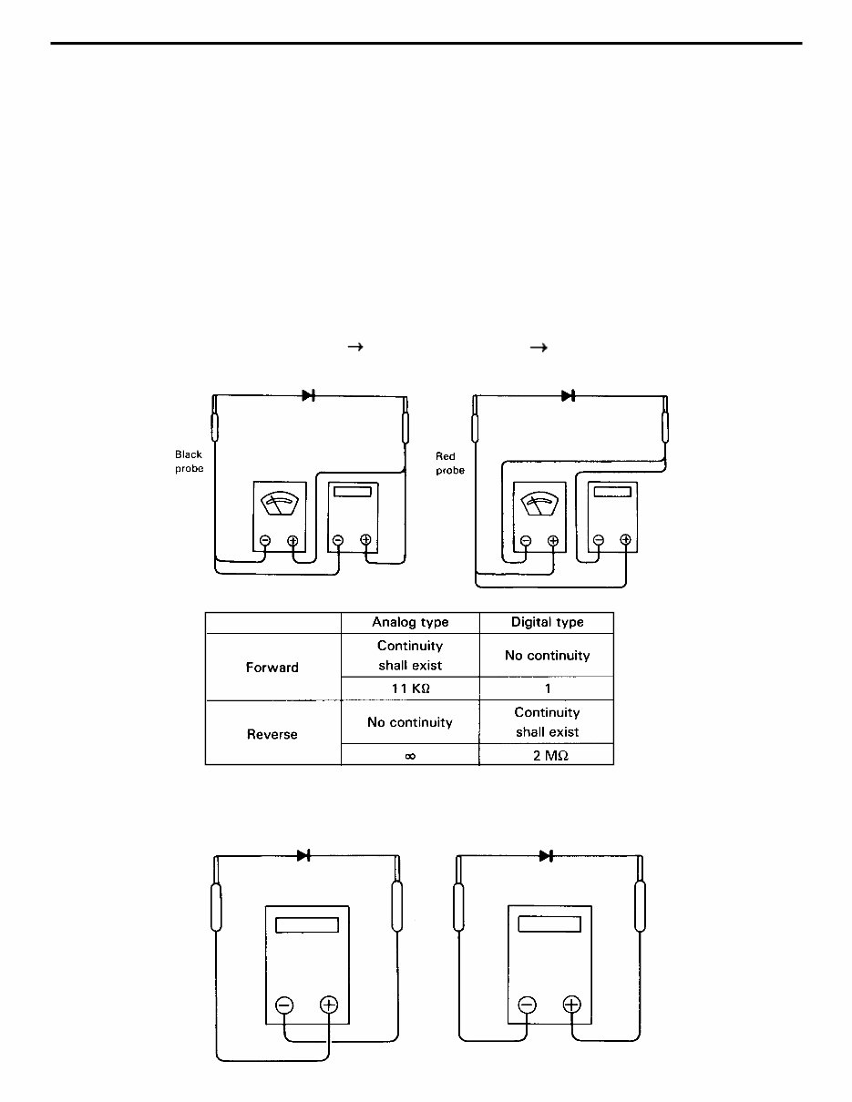
0-6 CIRCUIT TESTER Circuit testers are available in both the analog and digital types. They should be used selectively ac- cording to the purpose of measurement. Analog type: This type is convenient for observing movement during operation, but the measured value should only be used for reference or rough judgment. Digital type: Fairly accurate reading is possible, but it is difficult to observe the variation or move- ment. Difference in measurement results with the digital type and analog type The result may be different between measurements with the analog type and digital type. Al- ways use a circuit tester according to its operation manual. Cautions when the polarities are dif- ferent between the analog type and digital type are described below. Circuit tester range: Analog type kohm range Digital type 2 Mohm range Forward direction Reverse direction Measurement result example As seen from the example above, the measurement results with the analog and digital types are re- verse. In measurement with a digital type circuit tester, therefore, use the tester probes as shown be- low. Forward direction Reverse direction 1. *
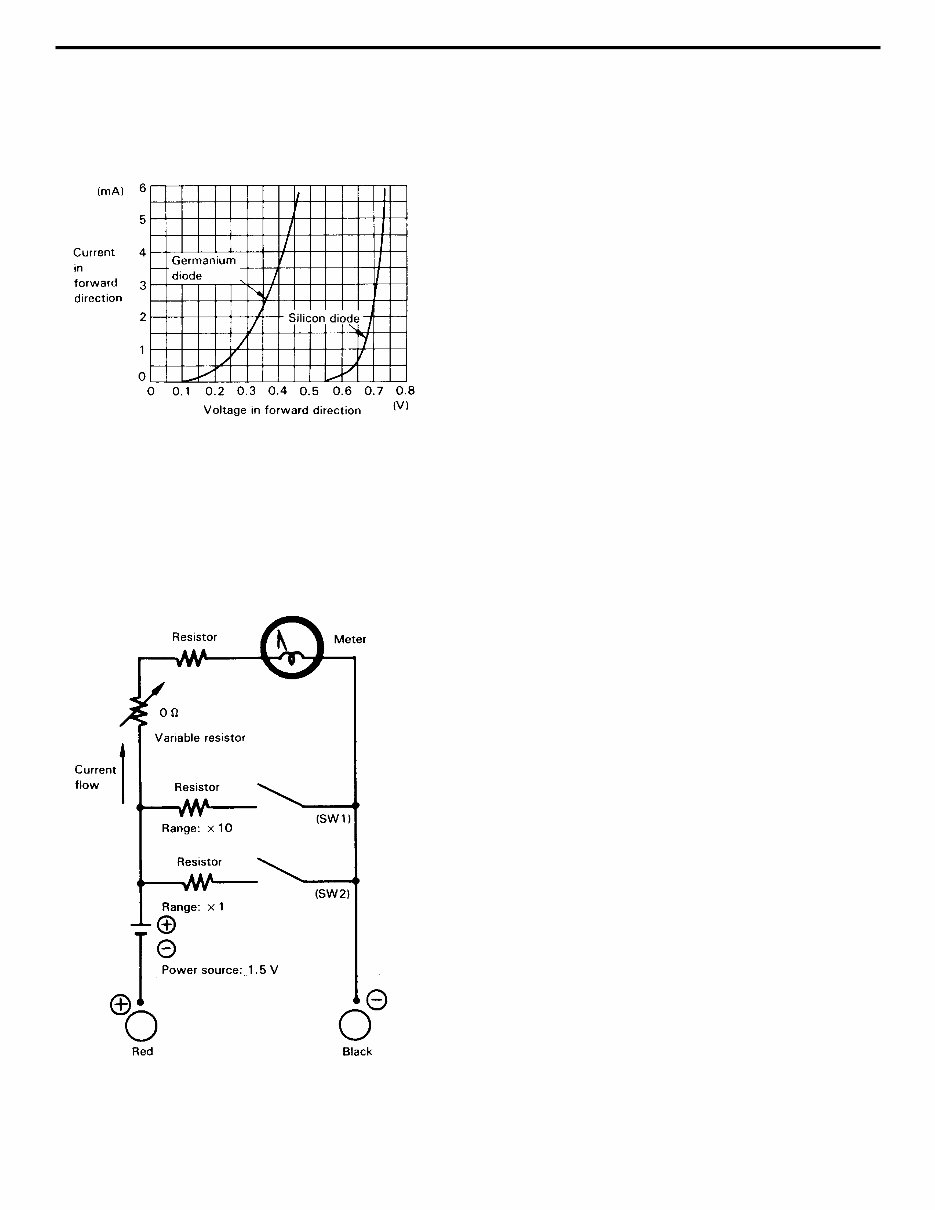
0-7 Difference in result of measurement with circuit tester The circuit tester power supply voltage depends on the tester type. 1.5V, 3.0V or 6.0V is used. The resistance of a semiconductor such as a diode varies with the circuit tester power supply voltage. The diode characteristics are shown in the figure below. Difference in measurement result by measurement range (analog type) In the analog type circuit tester, changing the measurement range switches over the internal circuit to vary the circuit resistance. Even when the same diode is measured, the measurement result varies with the measurement range. Always use the range described in the repair manual for measurement. 2. The resistance values of the same semiconductor mea- sured with two types of circuit testers having different power supply voltages are different. This manual describes the results of measurement with a circuit tester whose power supply voltage is 3.0 V.
0-8 LIST OF ABBREVIATIONS AND SYMBOLS
0-9 OPERATIONAL TIPS Safe operation After jacking up, always support with rigid stands. When hoisting the vehicle or its heavy component, use wire repe(s) with a sufficient reserve in load capacity. Always disconnect the battery plugs before the inspection or servicing of electrical parts. Tactful operation Prepare the mechanic tools, necessary measuring instruments (circuit tester, megger, oil pres- sure gauge, etc.) and SSTs before starting operation. Before disconnecting wiring, always check the cable color and wiring state. When overhauling functional parts, complicated portions or related mechanisms, arrange the parts neatly to prevent confusion. When disassembling and inspecting such a precision part as the control valve, use clean tools and operate in a clean location. Follow the described procedures for disassembly, inspection and reassembly. Replace, gaskets, packings and O-rings with new ones each time they are disassembled. Use genuine Toyota parts for replacement. Use specified bolts and nuts. Observe the specified tightening torque at the time of reassembly. If no tightening torque is specified, tighten the bolt or nut according to the standard tightening torque table. Grasping the trouble state When a trouble occurs, do not attempt immediate disassembly or replacement but first check if the trouble requires disassembly or replacement for remadying. 1. 2. 3. (1) (2) (3) (1) (2) (3) (4) (5) (6) (7) (8)