EP30002 ORDER NO.HPD0704X10C8 - 2 - CONTENTS Page 1 COMPONENTS IDENTIFICATION…………………………………………………………………………………………………………………………3 2 TURNING ON THE POWER………………………………………………………………………………………………………………………………7 3 REQUIRED TOOLS…………………………………………………………………………………………………………………………………………8 4 ADJUSTMENT OF PRESSURE SENSOR…………………………………………………………………………………………………………………9 5 OPERATIONS OF ELECTROMAGNETIC VALVES AND AIR BAGS………………………………………………………………………………10 6 DISPLAY METHOD OF MASSAGE BLOCK TOTAL USE TIME………………………………………………………………………………………11 7 DISPLAY METHOD OF EACH OPERATION USE TIME………………………………………………………………………………………………12 8 METHOD OF PACKAGING POSITION SET-UP…………………………………………………………………………………………………………12 9 METHOD OF MASSAGE MECHANISM BLOCK INSTALLATION MODE SET-UP (MANUAL SET-UP)…………………………………………13 10 DISASSEMBLY……………………………………………………………………………………………………………………………………………14 11 ACTUAL WIRING DIAGRAM……………………………………………………………………………………………………………………………44 12 PHENOMENA CAUSED BY THE SENSOR MALFUNCTION OR LOCK PROTECTION OPERATION…………………………………………47 13 CHECKING…………………………………………………………………………………………………………………………………………………49 14 GREASE……………………………………………………………………………………………………………………………………………………57 15 EXPLODED VIEW…………………………………………………………………………………………………………………………………………60 16 REPLACEMENT PARTS LIST……………………………………………………………………………………………………………………………66
EP30002 ORDER NO.HPD0704X10C8 - 5 - 1.2 CONTROLLER
EP30002 ORDER NO.HPD0704X10C8 - 6 -
EP30002 ORDER NO.HPD0704X10C8 - 7 - 2. TURNING ON THE POWER 1. Plug the power plug into the power socket. 2. Turn the lock switch to the open position. 3. Turn on the power switch on the back of the unit. ・ When the operating lock switch is pointing toward ‘lock’, the power switch cannot be moved to the ‘on’ position. Timer When the on/off button is pushed, a timer begins to prevent overuse. After approximately 15 minutes, time expires and the massage wheel goes into storage position. After each use. ・ Be sure to turn the power switch to ‘off’. ・ To prevent children from using this unit, lock the power switch by moving the operating lock switch to the ‘lock’ position. ・ As a further caution, unplug the power cord from the power socket after each use.
EP30002 ORDER NO.HPD0704X10C8 - 8 - 3. REQUIRED TOOLS
EP30002 ORDER NO.HPD0704X10C8 - 9 - 4. ADJUSTMENT OF PRESSURE SENSOR The adjustment of the Pressure sensor is necessary every time after the Main PCB or Massage mechanism block are replaced or repaired disassembled & reassembled. First, keep the Massage mechanism block unloaded without pressure and move it upward halfway. - If the Massage mechanism block is at the highest or lowest position, you cannot arrange the pressure sensor correctly because the fabric becomes tense with pressure. 1. Insert the Power plug into the power source and turn on the switch of the Power source switch block. 2. While pushing the buttons of â… and â…¢, continue to push the On/off button for more than approximately three seconds. Then, the buttons of â… , â…¢, and USER A light. 3. In ten seconds after the buttons of â… , â…¢, and USER A light, push the buttons as follows: â‘ SELF PROGRAM⇒② LEG/FOOT⇒③AUTO WIDTH⇒④START 4. Push the button of START again, then the adjustment of Pressure sensor finishes. 5. Push the button of Stop.
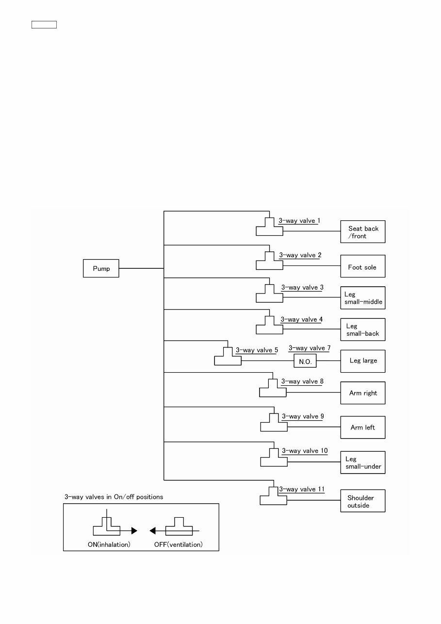
EP30002 ORDER NO.HPD0704X10C8 - 10 - 5. OPERATIONS OF ELECTROMAGNETIC VALVES AND AIR BAGS Air massage operates with one Pump unit, nine 3-way electromagnetic valves, an Switch electromagnetic valve. 1. Air massage operates with the Pump and the Electromagnetic valve. 2. The Pump and all the Electromagnetic valves are OFF when the operation stops. 3. Air control stops when the Reclining lift motor and the Ottoman lift motor operate.(Electromagnetic valves are OFF in ventilation.) 4. The Pump stops when in the On/off operation, or Electric reclining lift unit or Electric Ottoman lift unit operate in the standby mode.(Pressure level is maintained.) Electricity is OFF in five seconds after the Packaging mode, or the operation stop after the stop mode (Packaging mode), or Electric reclining lift or Electric Ottoman lift are OFF in the standby mode. *However, the Lift motors operate controlling the air when in stretching of legs and ankles.
Is your Panasonic EP-30002 Massage Chair letting you down?
Why replace or spend lots of money on repairs while you can do it yourself? This service and repair manual is used by the Official Certified Panasonic Technicians. It will help you to troubleshoot and repair your Massage Lounger!
Contents:
Components Identification
Turning On the Power
Required Tools
Adjustment of Pressure Sensor
Operations of Electromagnetic Valves and Air Bags
Display Method of Massage Block Total Use Time
Display Method of Each Operation Use Time
Method of Packaging Position Set-Up
Method of Massage Mechanism Block Installation Mode Set-Up (Manual Set-Up)
Disassembly
Actual Wiring Diagram
Phenomena Caused By The Sensor Malfunction or Lock Protection Operation
Checking
Grease
Exploded View
Replacement Parts List
This manual covers the following model:
Panasonic EP30002 Massage Lounger, Asia & Middle East Model
This service manual is very detailed and illustrated with pictures and step-by-step instructions on how to repair/service this video camera the best way there is!
You can easily print this manual from any printer and any computer!
Please note; this is the OFFICIAL service and repair manual in .PDF format, no scanned-in or bootlegged copy. This manual is made in the highest resolution, so when you print the pages you need it is all in great quality!
***INSTANT access*** After your payment, you will have instant access to your access. No shipping fee, no waiting on postal delivery, you can start doing your repairs right away!
Specifications
Language: English
Format: .PDF
Pages: 71
Platform: Windows and MAC
Looking for a service manual but can't find it anywhere? Please contact us with your request! As you can see we've got one of the largest service manual databases out there, so a good chance we can help you out!