Kohler CH440 Engine Repair Service Manual
The Kohler CH440 Engine Repair Service Manual is an essential resource for individuals looking to perform repairs and maintenance procedures on the Kohler CH440 Engine. It is designed to cater to the needs of both professional technicians and do-it-yourself mechanics. The manual provides comprehensive guidance on electrical and mechanical concepts, making it suitable for individuals with basic knowledge in these areas.
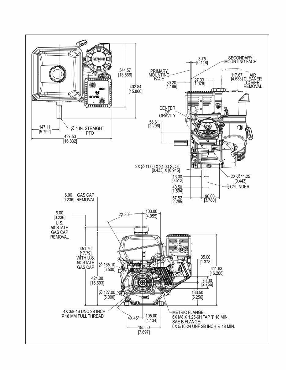
It covers a wide range of topics including engine removal, wiring diagrams, general information, specifications, lubrication points, oil types, periodic maintenance, tune-up procedures, disassembly, reassembly, fuel and lubrication systems, electrical system, ignition, chassis, charging, starter, battery, switches, wheels, brakes, steering, suspension, axles, chassis assembly, wiring diagrams, service data, tools, tightening torques, complete engine service, gearbox, exhaust system, fault finding, clutch removal and installation, transmission, bodywork, cooling system, electrics, maintenance schedules, and more.
The manual is available in English and can be delivered instantly in a printable format. It is compatible with all versions of Windows and Mac, and requires Adobe Reader and Win for access. Whether obtained in a digital format or as a paper manual, it provides step-by-step repair procedures, critical specifications, illustrations, maintenance guidelines, and more. The digital version offers the convenience of immediate access and can be downloaded straight to your computer.
For anyone seeking to make informed decisions about maintaining and repairing the Kohler CH440 Engine, this comprehensive repair service manual is an invaluable tool.









