calcActive())">
sakai SV512D,SV512T,SV512TF parts book
What's Included?
Fast Download Speeds
Online & Offline Access
Access PDF Contents & Bookmarks
Full Search Facility
Print one or all pages of your manual

ENGINE"Perkins1"104C-44TA
~"VIBRATING !ROLLER
(SV512D-E : No.20328-)
(SV512T-E, TF-E : No.20154-)
I No. 3498-19930-3 I


L .I.)' Y )'ff~JHt~ ~ ([)'73 7' D :n:: 'j:-2;";I; n"( i3 l') ;I;-lt Ivil> G~ :5JU-mrO)J~- -t-)' .A1104C-44TA.I.)' -;;)' J\
- Y 'JJ 7' D 7"~ ::'~m\ < t!.."r: "~o
2. ff~6'6 ~~ff)(O)~!j:~ ;f.nlU6 O)ff~Jb ~illJ!iI>'? JE1i1U::96j2Sl" ~ ;I; T J: -) *o)~lJH:: -:J"~ "( :::'i'lftff: < r: "r: "~o
(l) !j[jIIjJ%;i:\;
(2) !j[ iTiIi=~
(3) ff~rl~iIf~
(4) $£;t~
(S) PJi'~~£
7J:'}')~ !j[jIIjJ%;i:\;1iZ.V'~:@I'% (.al'~) fHtil'JLf::f:, "r: G,::!j[ail}~fj: 7 V -ld:: 'b rr~u L "(;:l;; I) ;I; To
]j[ i;o:jjf~ (;j:
-it:i:J -1 SV512D.E tT VSV18D -00000
SV512T·E r7 VSV18T -00000
SV512TF·E tT VSV18T -00000
I --r-
lla~ *~
! I
I
!l!i**~
3. ff~6'6O)JOOffl:f.aili=%~0 gfO) J: -) v::{JIlj::1;f·ltH:~c~ \..,"-C;:l;; I) ;I; To
~No.10007 (10007%~;I; l"JOOfflT ~:: t -rff: L;I;T 0)
No.10008~ (10008~~J: l') ~fflT ~:: t -rff: L ;I; To)
4. -OO~;fMO)~m'j:~ mum t L "( la?to)~£ -ri[J~ L "(;:l;; l') ;I; To td!.. L~ 7 'J -c )' 7.
1
) J\- 'J v::,?"~,,(l1jQj
?to)~£ ~iciIiX. L "(;:l;; l') ;l;To
s, .:: 0) 'JJ 7' D 7· ,: 'j:~ -:J~. 0)1Ili}~~1~fflL "( i3 l') ;I; To
LH : j!qTjJ[ti]1:C1~~ Dom. : §!]i*Jl"f*~T~ff~6'6
RH: j!qi1J[ti]::bI~ Exp. : §!]i*Jl"{j!;~L7J:v~ff~6'6
OP : :t7·~ 3)' N/S : !jt6'6"Z"O){j!;*,g.iI{'""C:'~ 7J:v~ff~J'lrl
AR: £'~f:Jt.t.:t.::~£ A/S: ~;{iO)ff~rl~0)7'/-t)'7·1)Xfj:
Inc. O~O: 7'/ -t)' 7.
1
) -r:jtnX; -t- '/ l- 7J: i?{j!;~'""C:' ~ ~$6'6
L "( \t~ ~ tf~6'6O) keyNo.
7. ff~6'6:1'~O)l~iH:: * ~n'""C:'~ff: L "(<b ~$6'6!j:TfXV::iITJE L t: ~ t :rff; L ;I; TO)'""C:' ~ gH~1 :::'ff)(O)~'j:~ rfX
O)tf~Jbili=%'""C:'.}.)m G-It < t!.. "r: \t~o

GUIDE FOR USE OF PARTS CATALOGUE
L This parts catalogue contains entire range of the service of the SV512D-E, SV512T-E, SV512TF.E VIBRATING
ROLLERS.
For the ENGINE (Perkins l104C-44TA) , see the parts catalogue compiled separately.
2. Quote the following when placing an order for parts.
(I) Vehicle model
(2) Chassis number
(3) Part number
(4) Part name
(5) Quantity of required parts.
The vehicle model and chassis number are engraved on the identification plate,and chassis number is also punched
on the frame.
Chassis number
Chassis number
Model SV512D-E er VSV18D -00000
SV512T-E 17 VSV18T -00000
SV512TF-E <7 VSV18T -00000
T,nu+er
Chassis number
3. The chassis number to which parts are applicable are described in the remarks column as follows.
-No.10007:Applicable up to10007
No. 10008- :Applicable from 10008
4. Each quantity shown in the quantity column is in principle one applied to a unit of vehicle.
However,each quantity as related to ASSEMBLY PARTS indicates one included in a single unit of assembly.
5. The following abbreviated words are used in this parts catalogue.
LH : Lefthand viewed from behind of vehicle.
RH : Righthand viewed from behind of vehicle.
Inc.O - 0: Key number of parts constituting an assembly
OP : Option
N/ S : Parts not to be supplied by a signal piece
A/S : Parts to be supplied as an assembly composed or a kit of parts
AR : As required
Dom. : For use in Japan
Exp. : For use in countries other than Japan.
*SEEPAGE 00 : See page 00 for component parts.
6. Part with" (cf. 0)" in the remarks column indicates that it is supplied as an assembly represented by the key
number 0 with which"cf."is attached. Quote the part number that follows the key number 0 when ordering.
7. Part number with a mark"*"indicate that they have been corrected to the ones listed just below them.Quote the
renewed part numbers when ordering.
8. Parts are subject to change without notice.

13 ;~
CONTENTS
:c../~;",,~'/*
.I-~:;~l&i"t
~;f3l-*i\'1C
?-ff1P~ii
~)K~ii
ilr)K*ii
Group name (Description)
Engine System
Engine Mounting (0411-01803-0-1 0290-0)
Fuel System •••.'" (0411-02805-0-1 0291 -0)
Cooling System (0411-03803-0-1 0289-0)
Intake System (0411-04803-0-1 0292-0)
Exhaust System (0411-05803-0-10293-0)
.U1
UI UI
..:.
ci
=
l-
N N
Page ... .... ....
In In In
>
.> ;>
In
.11)
In
000 1
000 2
000 3
000 4
000 5
::J;"" " Cl-)"'oo,/* Control System
::J ~ l- D- )v~f* (7. 0 '/ r}v) Control System (Throttle) (0411-12805-0-1 0296-0)
::J ~ r 0- }v~f* (m1;lt~) Control System (Reversing) (0411-12806-0-1 0297-0)
illUJJJ~m: Brake System .... · .... ·.. ···· · (0411-51801-0-10045-8)
000
000
000
6
7
8
~tcJ~!i: Steering System
1* rPJ rffi I±~ 11:
Steering Hydraulic System ... '" ... (0411-32803-0-1 0299-0)
0 0 0 9
:r~rPJ*m: (y I) ~ 7") Steering System (Cylinder) ......... (0411-32801-0-1 0057-0)
0 00 10
:r~IoJ~ii (; \ ~ )-"}v) Steering System (Wheel) ............ (0402-32803-0-20062-0)
00 0 11
)djEE~IS Hydraulic System
rffil±*m: (;f- ~ 7"l&i"t) Hydraulic System (Pump Mounting) (0411-36805-0-20222-0)
0 0 0 12
rffiEE~1I: (7 0 ~ r F '71 7") Hydraulic System (Front Drive) ... (0411-36802-0-1 0060-A)
00 0 13
rffil±~1I (1) "1' F'7 .{ 7"1) Hydraulic System (Rear Drive 1) ... (0411-36806-0-10300-0)
00 0 14
rffiEE*m: ( 1) "1' F'7 .{ 7"Z) Hydraulic System (Rear Drivez) ... (0411-36807-0-10346-0)
00 0 15
rffil±~II(~iJJ) Hydraulic System (Vibrating) ...... (0411-49802-0-1 0301-0)
0 0 0 16
~JJJD- )v Vibrating Roll
........................ (0411-43801-0-1 0049-C)
0 17
tilWo -)v Vibrating Roll ........................ (0411-43802-0-1 0050-C)
0 18
tiJJJo- }v Vibrating Roll ........................ (0411-43803-0-1 0051-C)
0 19
1) "1' 7 7. -7 }v
Rear Axle
.............................. (0411-27802-0-1 0066-0)
00 0 20
7 v-'£" Frame
70~r7v-A Front Frame
........................... (0411-61803-0-1 0082 -A)
0 21
7D~r7v-A Front Frame
............ '" ............ (0411-61804-0-1 0085-A)
00 22
1)"1' 7 V-A Rear Frame .................. ··· .... ··· .. (0411-61810-0-10302-0)
0 0 0 23
7v-A(-t:~7-l::"~) Frame (Center Pin) .................. (0402-61802-0-1 0059-F)
00 0 24

·PI
PI PI
....
.ci
l:i
l;j
*
11
1!j fi; Group name (Description)
C\l
Page .... ... ...
·111 ·111
~
.>
:>
III III III
aWl Canopy
................................. (0402-63801-0-1021 O-C)
000 25
y-}-
Seat·· .... ·.. ····· .. · .. · ...... · ............ (0402-31801-0-20098-8)
000 26
?~~~iI Scraper System · .. · .. · ........ · .... ····(0411-71801-0-10089-0)
0 27
?~~~iI Scraper System .. · .................. ·.. (0411-71802-0-10090-0)
0 28
?~~~ii
Scraper System ........................ (0411-71803-0-1 0091-0)
0 29
~~~~1* Electrical Equipment
~~I!~~1*
(J'\.t- n-) Electrical Equipment (panel) ......... (0411-09815-0-1 0295- 0)
0 0 0 30
~~I!~~1*
(;"'J7 1)) Electrical Equipment (Battery) ...... (0411 -09813-0-1 021 9-0)
00 0 31
~~I!~~1*
('71 }-) Electrical Equipment (Light) ......... (0411-09803-0-1 0120-A)
000 32

I:J:J./mli'i
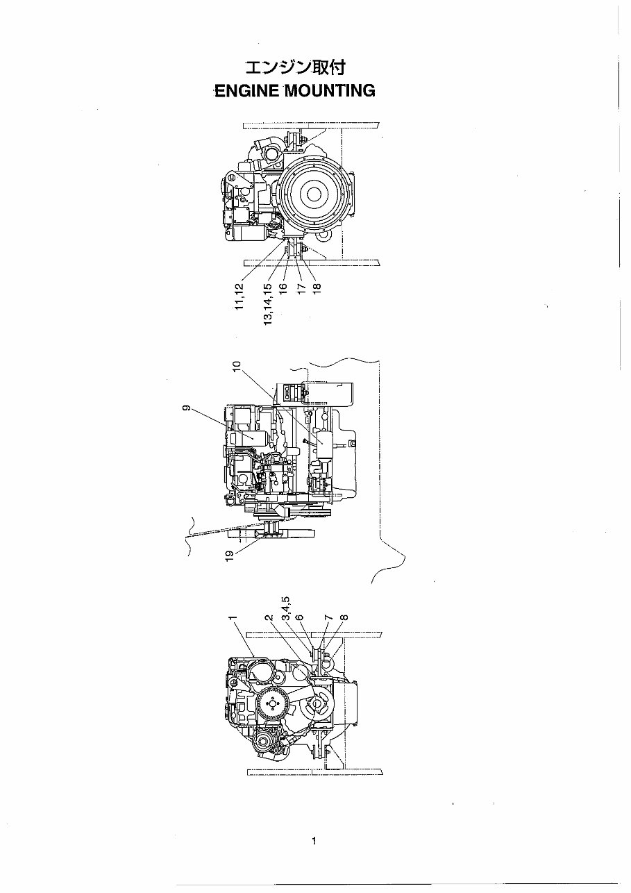
,ENGINE 'MOUNTING
c:::=::=::=::=:.--- ~:~':=:T::=::=::::7
!
i
,
~~191l~~~~~i
!
Pn-- __-J._.:=::h::=::=:::::1
C\I
,...
,...
,...
o
,...
~:
~ I
, !
i
i
i
i
!
i
i
i
i
i
i
i
!
l
<,
i
c::=:=:=:=:=:r:_~__ ~:'~L:=:=::::>

· :I";I:JVlDH'1
:ENGINEMOUNTING
iID ft $Mdift
lmli
~ij; Parts Name
~.
Wl
;1J
Key No. Parts No. Q'ty
Remarks
1 4031-96000-0 I;""~;""
ENGINE
1 INC.2,9,1 0,19
2 4031-62001-0 T'YI- NUT 8
3 2100-12100-3 ~)L.- I-
BOLT 2
4 2170-12032-2 '7 'Y ':/ "'r WASHER 4
5 3120-01 095-0 T 'Y I- NUT
2
6 1523-01003-0 /1/- I-
PLATE 2
7 1411-01001-1 ~l7Jr'y I- BRACKET 2
8 3460-45029-0
§;""J~
DAMPER
4
9 4031-96001-0 7 -( )I/~
FILTER
1
10 4031-96002-0 7 -( )1/ 51
FILTER 1
11 2100-12035-3 ;:R)I/ I-
BOLT 8
12 2171-12036-1 ;Z 7' I) ;.... -'j '7 'Y ':/ "'r
SPRING WASHER 8
13 2100-18120-3 *)1/ I- BOLT
2
14 2170-18045-2 '7 'Y ':/ "'r WASHER 4
15 3120-01113-0 T 'Y I- NUT
2
16 1523-01002-0 7'1/- I-
PLATE
2
17 1411-01002-1 7'77 'Y I- BRACKET 2
18 3460-45048-0
§; .... H
DAMPER 4
19 3120-00071-0
-j- ,y I-
NUT
4
0411-01803-0-1 0290-0
1-1

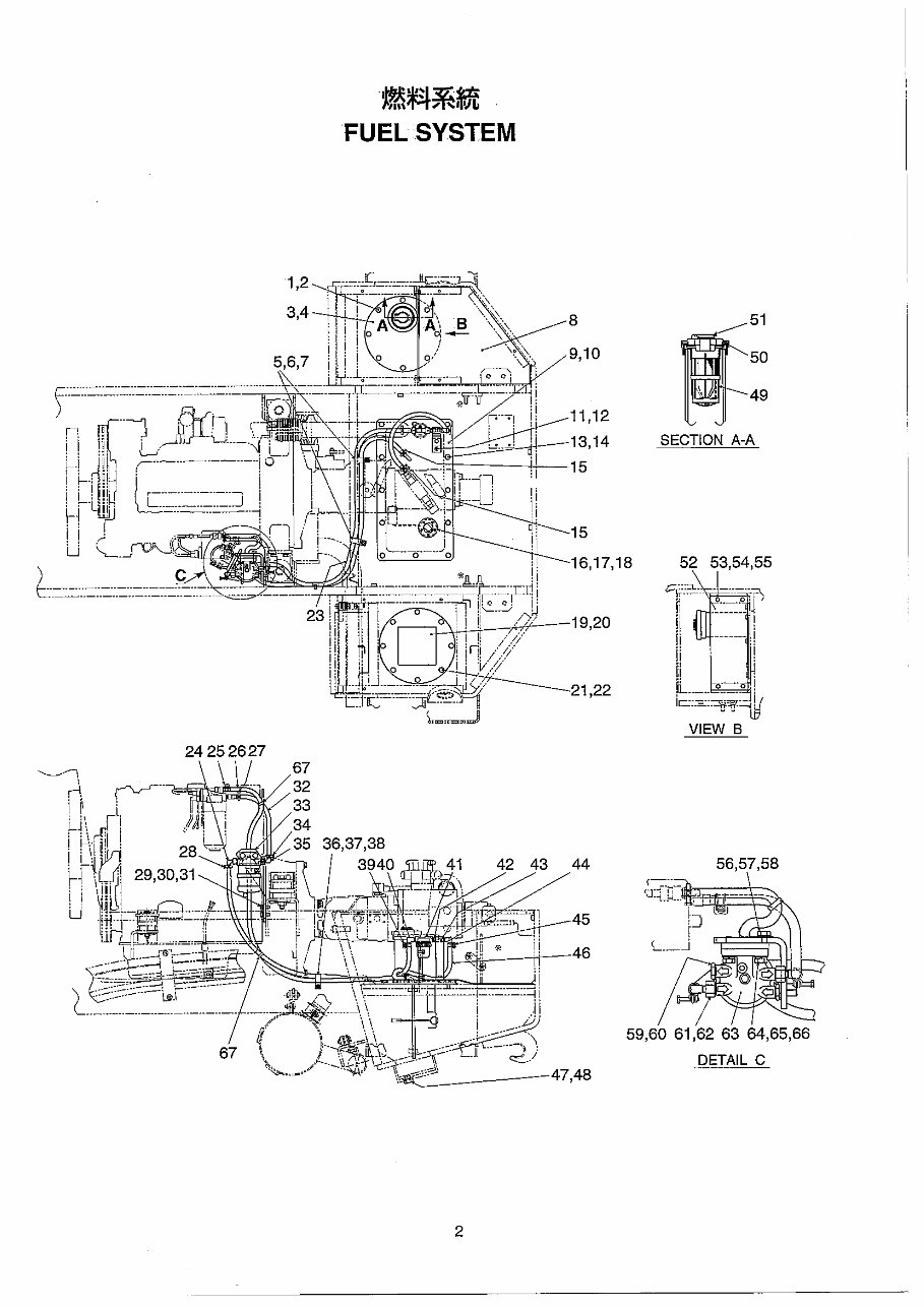
FUEL SYSTEM
21,22
15
16,17,18
24252627
1,2
3,4
8 51
9,10
50
49
n
11,12
i I
13,14
SECTION A-A
: :
15
59,60 61,62 63 64,65,66
DETAIL C
:=.-_---- 47,48
67
44 56,57,58
i i
U
45
46
2

'~~~it1t . m~ .. ., " !Jb
:FUEL:SYSTEM
im -% i~UHI-%
a~ liiJ ti ~ Parts Name
~:I: vm ~
Key No. Parts No. Q'ty
Remarks
1 3100-00064-0 ;F)v" BOLT 8
2 2170-10030-1 '7 ';I :..- 1" WASHER 8
3 1411-02009-2 1J/~-
COVER 1
4 1402-02005-1 1'\ ':J:!f /
PACKING 1
5 3416-02001-1 ?7/7' CLAMP 2
6 2100-08012-1 ;f,')v" BOLT 2
7 2170-08016-0 '7 ':J :..- 1" WASHER 2
8 1411-02010-0 ?'Y:"-3/ CUSHION 1
9 1411 -02013-0 1J1'\-
COVER 1
10 1402-02003-1 1'\ ';1:+ / PACKING 1
11 21 00-08020~1 ;F)v" BOLT 2
12 2171-08020-0 ;Z / I) /'1' r; ':J :..-"'" SPRING WASHER 2
13 3100-00064-0 ;F)v" BOLT 12
14 2170-10030-1 r; 'Y :..- 1" WASHER 12
15 2291-00016-0 *-;Zl\/ r: HOSE CLAMP 2
16 4417-05000-0 7::::L -I)v.l=. -y l-
FUEL GAUGE UNIT 1
17 2182-05010-3
-j- />( :J *' V'
SCREW 5
18 2171-05013-0 ;Z / I) / l' '7 -y Y 1" SPRING WASHER 5
19 1411-02011-0 1J1'\-
COVER 1
20 1402-02005-1 /,'y:!f /
PACKING 1
21 3100-00064-0
;f-)v "
BOLT 8
22 2170-10030-1 r; 'y :..- 1" WASHER 8
23 2293-09210-5 *-:A. HOSE 1
24 3292-1 0039-0 *-;Z=. 'y /)v HOSE NIPPLE 1
25 2291-00016-0 *-:A.I'\/ r: HOSE CLAMP 1
26 2293-09220-5 *-;Z HOSE 1
27 2291-00016-0 *-:A.I'\/ F HOSE CLAMP 1
28 2291-00016-0 *-:A.I'\/ F HOSE CLAMP 1
29 2100-10030-1 ;F)v" BOLT 2
30 2170-10020-0 '7-/:"-1" WASHER 2
31 2171-10025-0 :A. 7' I) /? '7 ';I Y1"
SPRING WASHER 2
32 2293-09040-5 *-;z HOSE 1
33 1411-02014-0
"7' ::;; Ir 'y "
BRACKET 1
34 2291-00016-0 *-;z/'\/ ,,' HOSE CLAMP 1
35 3292-10039-0 *-;Z=. 'y 7°)v
HOSE NIPPLE 1
36 3416-02001-1 ?7// CLAMP 1
37 2100-08012-1 ;F)v" BOLT 1
38 2170-08016-0 '7 'y :..-if WASHER 1
0411-02805-0-1 0291-0
2-1
You're Reading a Preview
What's Included?
Fast Download Speeds
Online & Offline Access
Access PDF Contents & Bookmarks
Full Search Facility
Print one or all pages of your manual
$31.99
$41.99
Viewed 87 Times Today
Loading...
Secure transaction
What's Included?
Fast Download Speeds
Online & Offline Access
Access PDF Contents & Bookmarks
Full Search Facility
Print one or all pages of your manual
$31.99
$41.99
Sakai SV512D-E, SV512T-E, SV512TF-E Parts Book with Perkins 1104C-44TA Engine
This fully illustrated parts list with exploded views is a valuable tool for assisting in the disassembly and assembly of the Sakai SV512D-E, SV512T-E, and SV512TF-E models equipped with the Perkins 1104C-44TA engine.
Whether you are a professional mechanic or a DIY enthusiast, this manual provides essential technical information for maintaining and repairing these vehicles.
For a preview of the manual, you can watch a YouTube video showcasing the content of the 109-page file at the following link: Parts Book Preview Video