1AS EX30U \ P1AS-E6-2 \ MOTOR;OIL \ 003: MOTOR;OIL (1/2) Applicable Model Model Symbol Applicable S/N 000101 - NOT FOR REPRODUCTION
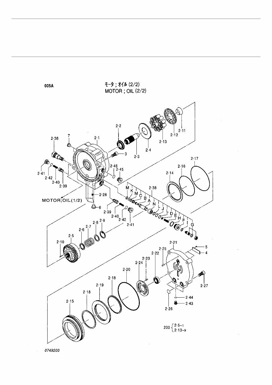
1AS EX30U \ P1AS-E6-2 \ MOTOR;OIL \ 005: MOTOR;OIL (2/2) Applicable Model Model Symbol Applicable S/N 000101 - Code Part No. Qty Part name Service code Applied S/N range ICA Alternate Part No. Alternate part quantity 4415274 1 MOTOR;OIL 2-1 0749201 1 * CASE 2-2 0732005 1 * BRG.;BALL 2-3 0732002 1 * SHAFT 2-4 0396807 1 * PLATE;THRUST 2-5 +++++++ 1 * BLOCK;CYL. D 2-6 0397905 1 * COLLAR 2-7 0434006 1 * SPRING 2-8 0434007 1 * WASHER 2-9 0396815 1 * RING;RETAINING 2-10 0434005 3 * PIN 2-11 0397908 1 * HOLDER 2-12 0732004 1 * PLATE 2-13 +++++++ 9 * PISTON D 2-14 0733403 1 * DISK 2-15 0733404 1 * PISTON 2-16 A811110 1 * O-RING K 2-17 A811135 1 * O-RING K 2-18 0733405 2 * SEAT;SPRING 2-19 0733406 1 * SPRING;DISK 2-20 0158830 1 * O-RING K 2-21 0748702 1 * COVER 2-22 0397915 1 * BRG.;BALL 2-23 0396703 1 * PIN 2-24 0732003 1 * PLATE;VALVE 2-25 0311313 2 * PIN 2-26 985099 2 * O-RING K 2-27 0168006 5 * BOLT;SOCKET 2-28 0397916 1 * ORIFICE 2-38 0749202 2 * VALVE;RELIEF 2-38 +++++++ 1 ** HOUSING D 2-38 +++++++ 1 ** POPET D 2-38 +++++++ 1 ** SEAT D 2-38 +++++++ 1 ** SEAT;SPRING D 2-38 +++++++ 1 ** SPRING D 2-38 +++++++ 1 ** PLUG D 2-38 +++++++ 1 ** ADJUSTER D 2-38 +++++++ 1 ** O-RING D/K 2-38 +++++++ 1 ** O-RING D/K 2-38 +++++++ 1 ** O-RING D 2-38 +++++++ 1 ** O-RING D/K 2-38 +++++++ 2 ** RING;BACK-UP D 2-38 +++++++ 2 ** RING;BACK-UP D/K 2-38 +++++++ 1 ** PISTON D 2-39 0647003 2 * VALVE;CHECK 2-40 0647004 2 * SPRING 2-41 0311336 2 * PLUG 2-42 4509180 2 * O-RING K 2-43 0647006 2 * PLUG 2-44 4506408 2 * O-RING K 2-45 0436608 1 * PLUG 2-46 957366 1 * O-RING K 3 0168006 2 * BOLT;SOCKET 4 +++++++ 1 * NAME-PLATE D NOT FOR REPRODUCTION
1AS EX30U \ P1AS-E6-2 \ MOTOR;OIL \ 005: MOTOR;OIL (2/2) Applicable Model Model Symbol Applicable S/N 000101 - Code Part No. Qty Part name Service code Applied S/N range ICA Alternate Part No. Alternate part quantity 5 +++++++ 2 * SCREW;DRIVE D 6 +++++++ 4 * PLUG D 7 +++++++ 1 * PLUG D 200 0732007 1 BLOCK;CYL. KIT +++++++ 1 KIT;REPAIR NOT FOR REPRODUCTION
1AS EX30U \ P1AS-E6-2 \ MOTOR;OIL \ 005: MOTOR;OIL (2/2) Applicable Model Model Symbol Applicable S/N 000101 - NOT FOR REPRODUCTION
1AS EX30U \ P1AS-E6-2 \ MOTOR;OIL \ 007: MOTOR;OIL (1/2) Applicable Model Model Symbol Applicable S/N 000101 - Code Part No. Qty Part name Service code Applied S/N range ICA Alternate Part No. Alternate part quantity 4406904 1 MOTOR;OIL 2 0436401 1 * SHAFT 3 0436402 1 * BAG.;BALL 4 0733501 1 * SEAL;OIL K 5 0750001 1 * PLATE 6 0750002 2 * BALL;STEAL 7 +++++++ 1 * BLOCK;CYL. D 8 +++++++ 1 * WASHER D 9 +++++++ 1 * SPRING D 10 +++++++ 1 * SEAT;SPRING D 11 +++++++ 1 * RING;RETAINING D 12 +++++++ 3 * PIN D 13 +++++++ 1 * HOLDER D 14 +++++++ 1 * PLATE;RETAINER D 15 +++++++ 9 * PISTON D 19 0750003 2 * PISTON 20 0436413 2 * SPRING 25 0436414 1 * PLATE;VALVE 26 0396703 1 * PIN 27 0436415 1 * BRG.;BALL 28 A810120 1 * O-RING K 29 4506407 4 * O-RING K 30 +++++++ 1 * PLATE;BASE D 31 +++++++ 1 * SPOOL D 31-1 +++++++ 1 ** SPOOL D 31-2 +++++++ 2 ** VALVE;CHECK D 31-3 0398002 2 ** SPRING 31-4 0750004 2 ** PLUG 31-5 4506320 2 ** O-RING K 31-6 0631411 4 ** ORIFICE 31-7 0444215 14 ** WASHER 31-8 0750005 2 ** PLUG 34 985100 2 * O-RING K 35 0750006 2 * SEAT;SPRING 36 0750007 2 * SEAT;SPRING 37 0750008 2 * SPRING 38 0750009 2 * CAP 39 4506429 2 * O-RING K 40 0436603 2 * ORIFICE 41 +++++++ 1 * SPOOL D 42 0436602 1 * SPRING 43 0311336 2 * PLUG 44 4509180 2 * O-RING K 45 0352225 3 * PLUG 47 0436603 4 * ORIFICE 48 0167922 6 * BOLT;SOCKET 49 0397910 2 * PIN 51 +++++++ 1 * NAME-PLATE D 52 +++++++ 2 * SCREW;DRIVE D 53 +++++++ 2 * PLUG D 54 +++++++ 1 * PLUG D 55 0436608 2 * PLUG 56 957366 2 * O-RING K 58 0750010 2 * PLUG NOT FOR REPRODUCTION
1AS EX30U \ P1AS-E6-2 \ MOTOR;OIL \ 007: MOTOR;OIL (1/2) Applicable Model Model Symbol Applicable S/N 000101 - Code Part No. Qty Part name Service code Applied S/N range ICA Alternate Part No. Alternate part quantity 59 957366 2 * O-RING K 60 0436608 2 * PLUG 100 0750011 1 KIT;SEAL 101 0750012 1 BASE PLATE 102 0733508 1 BLOCK;CYL. NOT FOR REPRODUCTION
This parts catalog is for the HITACHI EX30U and EX32UE Mini Excavator, covering serial numbers 000101 and up. It includes detailed information on the equipment components, making it an essential resource for both professional mechanics and DIY enthusiasts.
Parts Catalog Manual Contents:
PUMPS
MOTOR OIL
VALVE CONTROL
CYLINDERS
Part Number: P1ASE62
File Format: PDF
Total pages: 35
Manual Language: English
If you have any questions or need further assistance, feel free to reach out. This manual could be the solution you've been searching for. Have a great day!
Recently Viewed
5,521,897Happy Clients
2,594,462eManuals
1,120,453Trusted Sellers
15Years in Business
Price:
Actual Price:
HITACHI EX30U, EX32UE Excavator EQUIPMENT COMPONENTS Parts Catalog Manual ( Serial Number: 000101 and up )