I r 1 J '1 I PROVA DESIGNS COUNTACH REPLICA ASSEMBLY MANUAL 1 J 1 I
INTRODUCTION THIS MANUAL IS A STEP BY STEP ASSEMBLY GUIDE FOR PROVA'S COUNTACH REPLICA, BRINGING TOGETHER ALL THE EXPERIENCE GAINED BY THE AUTHOR IN ASSEMBLING COMPLETE CARS AND PROVA DESIGNS IN PRODUCING THEIR WORLD FAMOUS KIT OF THIS TIMELESS, EXOTIC SPORTS CAR. THE ONLY REAL NEEDED, ALONG WITH THIS MANUAL, TO BUILD YOUR COMPONENT CAR REPLICA SHOULD BE PATIENCE, A REASONABLE AMOUNT OF SPACE (AT LEAST TWICE THE SIZE OF THE BODY, A DOUBLE GARAGE SHOULD DO). YOU DO NOT NEED A FULLY EQUIPPED WORK SHOP AS YOU CAN GET AWAY WITH NORMAL DIY TOOLS, A SIMPLE SOCKET AND SPANNER SET IS A MUST BUT YOU WILL REQUIRE A WELDER AT CERTAIN TIMES DURING ASSEMBLY. THIS CAN BE BORROWED OR HIRED (IF HIRING, A MIG IS BEST). YOU DO NOT NEED TO BE AN EXPERT CAR BUILDER, THE IDEA OF THE MANUAL IS TO PASS ON OUR EXPERIENCE. WITH PATIENCE YOU SHOULD BE ABLE TO PRODUCE A CAR THAT IS NOT ONLY SOMETHING FOR YOU TO BE PROUD OF BUT A CAR THAT IS MECHANICALLY RELIABLE AS LONG AS THE ORIGINAL COMPONENTS ARE NEW OR CORRECTLY REBUILT. IF YOU ARE NOT ASSEMBLING A PROVA KIT YOU WILL FIND MOST OF THE INFORMATION CONTAINED IN THIS BOOK A GREAT HELP AS MOST OTHER COUNTACH REPLICA COMPANIES BASED THEIR KITS ON THE PROVA. WHILST EVERY CARE IS TAKEN TO ENSURE THAT THE INFORMATION IN THIS MANUAL IS CORRECT NO LIABILITY CAN BE ACCEPTED BY THE AUTHOR FOR LOSS I DAMAGE OR INJURY CAUSED BY ANY ERRORS IN, OR OMISSIONS FROM, THE INFORMATION GIVEN.
CONTENTS PAGE INTRODUCTION 1 CHAPTER 1 PREPARING THE PARTS 3 CHAPTER 2 FITTING OUT THE CHASSIS 6 CHAPTER 3 FITTING THE ENGINE AND GEARBOX 9 CHAPTER 4 FITTING THE BODY TO THE CHASSIS 11 CHAPTER 5 CUTTING OUT THE BODY 13 CHAPTER 6 ASSEMBLING THE LIGHT PODS AND THE WING 16 CHAPTER 7 ASSEMBLING THE DOORS 21 CHAPTER 8 FITTING OUT THE DOORS 27 CHAPTER 9 FITTING THE FUEL AND COOLING SYSTEMS 30 CHAPTER 10 BODY PREPARATION AND PAINTING 31 CHAPTER 11 FITTING THE REAR WINDOW 31 CHAPTER 12 FITTING THE GRILLS 32 CHAPTER 13 FITTING THE WIRING LOOM 33 CHAPTER 14 FITTING OUT THE CAR 47 CHAPTER 15 TRIMMING AND FITTING THE WINDSCREEN 50 CHAPTER 16 FITTING THE INTERIOR 53 CHAPTER 17 SETTING UP THE CAR 54 CHAPTER 18 REGISTRATION 57 RECOMMENDED SERVICE DATA 59 USEFUL ADDRESSES 60 61 CONVERSION FACTORS SUGGESTED READING 62 PARTS LIST 64 CIRCUIT DIAGRAM BACK COVER 2
CHAPTER 1 PREPARING THE CHASSIS PARTS (FRONT SUSPENSION) 1:1 FIRST OBTAIN A PAIR OF CORTINA FRONT AXLES INCLUDING HUBS CALIPERS ETC. AND ONE PAIR OF STEERING RACK CLAMPS. 1:2 STRIP THEM DOWN COMPLETELY I.E. REMOVE THE BEARINGS, SEALS AND WHEEL STUDS AND DISCARD THEM. SAVE THE AXLES, HUBS, HUB CAPS, NUT, WASHER, CASTELLATED NUT COVER, DISC BOLTS, CALIPER BOLTS, BRAKE HOSE BRACKETS AND CALIPERS. THE CALIPERS MUST BE OVERHAULED 100% EITHER PERSONALLY (BUT MAKE SURE THEY ARE PERFECT) OR PROFESSIONALLY. 1:3 CUT THE STEERING TRACK CONTROL ARMS AND INSERT THE EXTENSION TUBES. REWELD ADDING 1 1/8" IN LENGTH EACH SIDE AS PER SKETCH NUMBER 1. 1:4 MODIFY BOTTOM BALL JOINTS AS PER SKETCH NUMBER 2 AND DRILL NEW HOLE AFTER TRIAL FITTING TO THE BOTTOM SUSPENSION ARMS. I"'\oClrf'\c:A;fl'OI'll f'o &IfI1'"'OM f:,~ ;}lIN'( D-"'u... HbI IiOLj( "'0 u~ t>fI' wfIH ..., rn1 &t1'OI'\ SUS,."",SloN N.I"t HI)~. 1:5 CLEAN ALL PARTS INSIDE AND OUT.RE DRILL FRONT HUBS TO 5 STUD PATTERN REAR DISC CAN BE USED AS A TEMPLATE THEN MASK UP AXL~ THEN PAINT HUB AND STUB AXLE GLOSS BLACK. LEAVE TO DRY
1:6 FIT NEW BEARINGS AND SEALS INTO HUBS. PUSH LONG WHEEL STUDS INTO HUBS. FIT NEW DISC ONTO HUB WITH BOLTS AND NEW LOCKING TABS. TORQUE TO 30/ FT/LB FIT HUB ASSEMBLY ONTO AXLE WITH GREASE, WASHER, NUT AND CASTLE WASHER. THEN FIT CALIPERS ONTO AXLE USING BRAKE PIPE MOUNTING BRACKET AND BOLTS. TORQUE TO 45/50 FT/LB. MAKE UP AND FIT SHORT BRAKE PIPE LINKS AND FIT TO CALIPER AND BRACKET. PUT ASS TO ONE SIDE. 1:7 SHORTEN STEERING COUPLING BETWEEN COLUMN AND RACK BY CUTTING THE MAIN SHAFT AND WELDING TOGETHER AS PER SKETCH NUMBER 3. THIS WELD MUST BE PERFECT. ES c.vr REAR SUSPENSION 1:8 REMOVE REAR SPECIAL CAST UPRIGHTS FROM CHASSIS AND FIT RENAULT 30 FRONT BEARINGS INTO REAR HUB CARRIERS. THEY NEED TO BE PRESS FITTED (OR THE CASTING CAN BE HEATED IN AN OVEN TO EXPAND IT.) THEN INSERT THE LARGE CIRCLIP MAKING SURE IT SEATS FULLY.
1:9 FIT LONG WHEEL STUDS INTO SPECIAL PROVA HUB (OR RENAULT HUB.) MAKE SURE YOU FIT THE SPECIAL SPACER RING ONTO THE HUB. THEN INSERT THE HUB INTO BEARING. SEE SKETCH NO.4 .,)Kt:r(H Nt'. If: ;'0"' ................. ' t jf tVAl." .' (..1 (.,Uf" 1:10 FIT NEW LANCIA DISC ONTO HUB. OPEN OUT DISC TO FIT OVER WHEEL STUDS AS NECESSARY. 1:11 FIT RECONDITIONED LANCIA BETA CALIPERS AND FRAMES TO HUB CARRIER USING ALLEN BOLTS. MAKE SURE THE BOLTS DO NOT FOUL THE DISC, THE BOLTS MAY NEED SHORTENING SLIGHTLY. 1:12 MAKE UP REAR FRAME AS PER SKETCH NUMBER 5.
1:13 MAKE UP ENGINE MOUNTING FRAMES FOR ROVER va ENGINE AS PER SKETCH NUMBER 6 IF REQUIRED. THE CHASSIS IS FITTED WITH RENAULT V6 AS STANDARD. FITTING OUT THE CHASSIS 2:1 REMOVE BODY FROM CHASSIS BY DRILLING OUT THE POP RIVETS ONE ON EACH SILL AND THE ONE IN THE REAR BOOT. NOW LIFT OFF THE BODY. REMOVE SHOCK ABSORBERS. MARK FRONT AND REAR AND STORE AWAY. 2.2 SEAT PANS INTO CHASSIS FROM THE TOP WITH WEDGE FACING FORWARD. TAP DOWN TO FIT AND WELD IN PLACE AS PER SKETCH NO.7 • .. jj 2:3 IF YOU ARE FITTING A DIFFERENT ENGINE THAN A RENAULT V6 REMOVE THE ORIGINAL MOUNTS FITTED WITH AN ANGLE GRINDER AND WELD IN THE NEW ENGINE MOUNTI FRAMES. I.E. ROVER va . SEE 1 : 13.
2:4 TURN CHASSIS OVER AND FIT ALLOY FLOOR PANS UNDER CHASSIS USING POP RIVETS AND BOND IN WITH SIKAFLEX AS PER SKETCH NUMBER 8. 2:5 SEAL ALL OF THE CHASSIS, FLOOR PANS AND ALLOY PANELS WITH SIKAFLEX. ALLOW TO DRY FOR 24 HOURS. 2:6 PAINT THE BOTTOM OF THE CHASSIS WITH CHASSIS BLACK ENAMEL ETC. WAIT UNTIL IT DRIES THEN TURN THE CHASSIS OVER AND PAINT THE TOP OF THE CHASSIS. WAIT UNTIL IT IS THOROUGHLY DRY. --1 , . · . · , · . . . FITTING BRAKES. 2:7 FIT BRAKE MASTER CYLINDERS, GIRLING PART NO. 64068549 X 2 CLUTCH MASTER CYLINDER GIRLING PART NO. 64068600 Xl. FIT CLUTCH AND BRAKE LINES AS PER SKETCH NUMBER 9 . USE CORTINA MK 3,4,5 LONG FRONT BRAKE HOSE TO THE CORTINA CALIPERS. USE THE SAME BRAKE HOSES AT THE REAR. ALL BRAKE PIPES ARE 3/16" KUFNALLPIPE SECURED TO THE CHASSIS WITH CLIPS AND SELF TAPPING SCREWS. DO NOT RUN ANY HYDRAULIC LINES UNDER THE CAR.
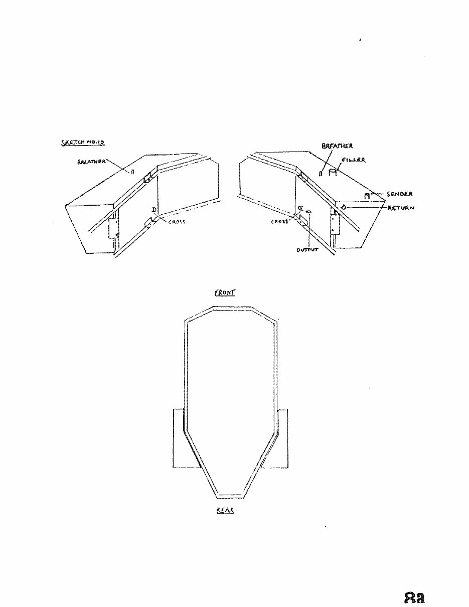
FITTING FRONT SUSPENSION 2:8 FIT 2X MODIFIED BOTTOM BALL JOINTS USING 3 BOLTS AND NYLOCK NUTS EACH SIDE FROM BELOW. 2:9 FIT 2X FRONT SHOCK ABSORBERS AND SPRINGS. FIT TOP BALL JOINTS FROM BELOW USING 3 BOLTS AND NYLOCK NUTS FIT LEFT AND RIGHT FRONT AXLE ASSEMBLIES ONTO BALL JOINTS MAKE SURE THEY ARE FITTED TO THE RIGHT SIDES, THE STEERING ARMS SHOULD BE FACING FORWARD. 2:10 FIT MODIFIED STEERING RACK USING NEW RUBBERS AND REFURBISHED OR NEW CLAMPS. 2:11 MAKE SURE THAT THE LOCKING HALF ARE FITTED TO THE STEERING RACK THEN FIT THE NEW TRACK ROD ENDS. 2.12 FIT TRACK ROD ENDS TO FRONT AXLES AND PARALLEL UP DISCS APPROXIMATELY. TRIAL FITTING OF FUEL TANKS. 2:13 TRIAL FIT FUEL TANKS AND DRILL MOUNTING HOLES AS PER SKETCH NUMBER 10. REMOVE AND STORE UNTIL BODY IS FITTED.
The Prova Designs Countach Replica Assembly Manual is a comprehensive 101-page guide tailored specifically for assembling the Prova Countach replica kit. It encapsulates decades of hands-on assembly experience from Prova, walking builders through each important step with clarity and precision.
Contents Include:
17 detailed chapters—from preparing parts to fitting chassis, engine, gearbox, bodywork, wiring, interior trim, and final setup
Practical advice on tools required, workspace planning, and welding techniques
Pertinent extras like registration guidance, service data, conversion tables, comprehensive parts list, and further reading suggestions
This manual is an invaluable resource for both DIY builders and experienced technicians aiming to assemble a mechanically sound and visually accurate Prova Countach replica.
Printable: Yes Language: English Compatibility: Pretty much any electronic device, incl. PC & Mac computers, Android and Apple smartphones & tablet, etc. Requirements: Adobe Reader (free)