VIN PLATE DECODING INFORMATION 1 2 3 4 5 6 7 8 9 10 11 12 thru 17 Country Make Vehicle Type Other Line Series Body Style Engine Check Digit Model Year Assy. Plant Sequence No. The following table interprets the VIN Plate position shown above. Position Interpretation Codes = Description 1 Country of Origin 1 = United States 2 Assembler J = Jeep 3 Vehicle Type 4 = Multipurpose Vehicle 4 GVWR & Pass. Safety D = 0 - 1360 kg (0-3000 lbs) E = 1361 - 1814 kg (3001 - 4000 lbs) F = 1815 - 2267 kg (4001 - 5000 lbs) G = 2268 - 2721 kg (5001 - 6000 lbs) K = 3629 - 4082 kg (8001 - 9000 lbs) L = 4083 - 4535 kg (9001 - 10,000 lbs) M = 4536 - 6350 kg (10,001 - 14,000 lbs) H = 2722 - 3175 kg (6001 - 7000 lbs) J = 3176 - 3628 kg (7001 - 8000 lbs) 5 Vehicle Line F = Cherokee 4x4 LHD J = Cherokee 4x4 (LHD), (RHD w/ABB) T = Cherokee 4x2 LHD 6 Series 2 = SE 4 = Sport 5 = Classic 6 = Limited with MZG 6 = Country w/o MZG 7 Body Style 6 = 4 Door Sedan 8 Engine M = 2.5L Diesel (ENC) S = 4.0L Gas Unleaded (ERH) 9 Check Digit 0 = Check Digit 0 = Check Digit 10 Model Year 1 = 2001 11 Assembly Plant L = Toledo #1 12 thru 17 Vehicle Build Sequence Model Year Assembly Sequence
Group - 1 Component Parts for Mopar Accessories 001-100 Audio & Electronics 001-1000 4 - Wheeling & Off Road 001-200 Carriers & Cargo Hauling 001-300 Driving Convenience 001-400 Exterior Appearance 001-500 Exterior Protection 001-600 Fog Lights & Electrical 001-900 Security 2001 XJ
Player Kit - CD Changer - 6 Disc Figure 1-110 ITEM PART NUMBER QTY LINE SERIES BODY ENGINE TRANS TRIM DESCRIPTION Player Kit - CD Changer - 6 Disc PK- CD C-6DNOTE; Use with CD-Controlled radios. For radios without CD Changer controls, use FM-Modulator Kit 82202292 1 82202700 1 PLAYER KIT, CD Changer - 6 Disc 2 04797433 1 MAGAZINE, CD Changer 3 04465113 1 CABLE, Din 4 04465113 1 CHANGER, CD, (NOT SERVICED) CHEROKEE (XJ) SERIES LINE BODY ENGINE TRANSMISSION P = Limited S = Limited L = SE H = Sport B = JEEP - 2WD (RHD) J = JEEP - LHD 4WD T = LHD (2WD) U = RHD (4WD) 72 = SPORT UTILITY 2-DR 74 = SPORT UTILITY 4-DR ENC = ENGINE - 2.5L 4 CYL TURBO DIESEL ERH = ENGINE - 4.0L POWER TECH I-6 DDD = TRANSMISSION - 5-SPEED HD MANUAL DGS = TRANSMISSION-4SPD. AUTO,AISIN WARNER DG0 = Transmissions - All Automatic DBB = ALL MANUAL TRANSMISSIONS AR = use ase required - = Non illustrrated part 2001 XJ << RETURN TO GROUP INDEX
Player Kit - CD Changer - 12 Disc Figure 1-112 ITEM PART NUMBER QTY LINE SERIES BODY ENGINE TRANS TRIM DESCRIPTION Player Kit - CD Changer - 12 Disc PK- CD C- 12 DNOTE; For radio without CD controls. Pentastar Logo, Includes RF Modulator, Power Cord, Din Cord, Hand Held and IR Remote Controller and O 1 82204730 1 J, T 72, 74 PLAYER KIT, CD Changer - 12 Disc 2 05013804AA 1 J, T 72, 74 MODULATOR, FM -3 05013800AA 1 J, T 72, 74 HARDWARE KIT, Mounting 4 05013806AA 1 J, T 72, 74 CHANGER, CD 5 05013802AA 1 J, T 72, 74 CONTROLLER, CD Wireless 6 05013805AA 1 J, T 72, 74 MAGAZINE, CD Changer 7 05013803AA 1 J, T 72, 74 CONTROLLER, CD Wired 8 04465117 1 J, T 72, 74 ADAPTOR, A/C 9 05013801AA 1 J, T 72, 74 DIN CORD, CD Player, 5 Meter CHEROKEE (XJ) SERIES LINE BODY ENGINE TRANSMISSION P = Limited S = Limited L = SE H = Sport B = JEEP - 2WD (RHD) J = JEEP - LHD 4WD T = LHD (2WD) U = RHD (4WD) 72 = SPORT UTILITY 2-DR 74 = SPORT UTILITY 4-DR ENC = ENGINE - 2.5L 4 CYL TURBO DIESEL ERH = ENGINE - 4.0L POWER TECH I-6 DDD = TRANSMISSION - 5-SPEED HD MANUAL DGS = TRANSMISSION-4SPD. AUTO,AISIN WARNER DG0 = Transmissions - All Automatic DBB = ALL MANUAL TRANSMISSIONS AR = use ase required - = Non illustrrated part 2001 XJ << RETURN TO GROUP INDEX
Install Kit - CD Changer - Trunk Figure 1-130 ITEM PART NUMBER QTY LINE SERIES BODY ENGINE TRANS TRIM DESCRIPTION Install Kit - CD Changer - Trunk 1 82202292 1 INSTALL KIT, CD Changer - Trunk 2 05012349AA 1 MODULATOR, FM Changer 3 05017217AA 1 CONTROLLER, CD Wireless 4 05017217AA 1 CONTROLLER, CD Wired, (NOT SERVICED) 5 04465117 1 ADAPTOR, A/C 6 04465113 1 CABLE, Din 7 04465113 1 HARDWARE KIT, Mounting, (NOT SERVICED) CHEROKEE (XJ) SERIES LINE BODY ENGINE TRANSMISSION P = Limited S = Limited L = SE H = Sport B = JEEP - 2WD (RHD) J = JEEP - LHD 4WD T = LHD (2WD) U = RHD (4WD) 72 = SPORT UTILITY 2-DR 74 = SPORT UTILITY 4-DR ENC = ENGINE - 2.5L 4 CYL TURBO DIESEL ERH = ENGINE - 4.0L POWER TECH I-6 DDD = TRANSMISSION - 5-SPEED HD MANUAL DGS = TRANSMISSION-4SPD. AUTO,AISIN WARNER DG0 = Transmissions - All Automatic DBB = ALL MANUAL TRANSMISSIONS AR = use ase required - = Non illustrrated part 2001 XJ << RETURN TO GROUP INDEX
Bike Carrier - Hitch Mount Figure 1-210 ITEM PART NUMBER QTY LINE SERIES BODY ENGINE TRANS TRIM DESCRIPTION Bike Carrier - Hitch Mount 1 CARRIER KIT, Bike, 2 inch hitch opening 82204328 1 J, T 72, 74 Four Bike 82204453 1 J, T 72, 74 Two Bike 2 04762880 1 J, T 72, 74 STRAP KIT, Velcro, Consists of: 1- Long and 1- Short 3 05016775AA 1 J, T 72, 74 STRAP KIT, Bike Carrier Latch, Consists of : Two Rubber Straps 4 04762882 1 J, T 72, 74 LOCK KIT, Bike Carrier Handle 5 05016776AA 1 J, T 72, 74 BOLT KIT, Security, Consists of: 1- Security Bolt,1-Security Wrench, washer and nut. For use with a 2 inch Receiver. 6 05016610AA 1 J, T 72, 74 HARDWARE KIT, Accessory, T-Handle 7 05016657AA 1 J, T 72, 74 HARDWARE KIT, Accessory, Top Clamp - 82204328 uses Two Total CHEROKEE (XJ) SERIES LINE BODY ENGINE TRANSMISSION P = Limited S = Limited L = SE H = Sport B = JEEP - 2WD (RHD) J = JEEP - LHD 4WD T = LHD (2WD) U = RHD (4WD) 72 = SPORT UTILITY 2-DR 74 = SPORT UTILITY 4-DR ENC = ENGINE - 2.5L 4 CYL TURBO DIESEL ERH = ENGINE - 4.0L POWER TECH I-6 DDD = TRANSMISSION - 5-SPEED HD MANUAL DGS = TRANSMISSION-4SPD. AUTO,AISIN WARNER DG0 = Transmissions - All Automatic DBB = ALL MANUAL TRANSMISSIONS AR = use ase required - = Non illustrrated part 2001 XJ << RETURN TO GROUP INDEX
Bike Carrier - Roof Mount Figure 1-212 ITEM PART NUMBER QTY LINE SERIES BODY ENGINE TRANS TRIM DESCRIPTION Bike Carrier - Roof Mount BC-RMNOTE: Hardware Kit also contained in Carrier Kit. NOTE: Carrier Kit has Upright Clamp for bike. 1 82300585 1 J, T 72, 74 CARRIER KIT, Bike, Fork - Mount 2 05016512AA 1 J, T 72, 74 HARDWARE KIT, Accessory, Consists of: 2-T-Slot Bars, 4- Round Dome Washers, 4- M6X1.0 X 16MM Machine Screws, 2 M6 Lockwashers 3 05016513AA 1 J, T 72, 74 STRAP, Cargo Tie Down, Consists of ; 2 Straps for securing the tire(s) onto the rack.NOTE: 82300585 only needs one strap but will receive 2 in this kit. CHEROKEE (XJ) SERIES LINE BODY ENGINE TRANSMISSION P = Limited S = Limited L = SE H = Sport B = JEEP - 2WD (RHD) J = JEEP - LHD 4WD T = LHD (2WD) U = RHD (4WD) 72 = SPORT UTILITY 2-DR 74 = SPORT UTILITY 4-DR ENC = ENGINE - 2.5L 4 CYL TURBO DIESEL ERH = ENGINE - 4.0L POWER TECH I-6 DDD = TRANSMISSION - 5-SPEED HD MANUAL DGS = TRANSMISSION-4SPD. AUTO,AISIN WARNER DG0 = Transmissions - All Automatic DBB = ALL MANUAL TRANSMISSIONS AR = use ase required - = Non illustrrated part 2001 XJ << RETURN TO GROUP INDEX
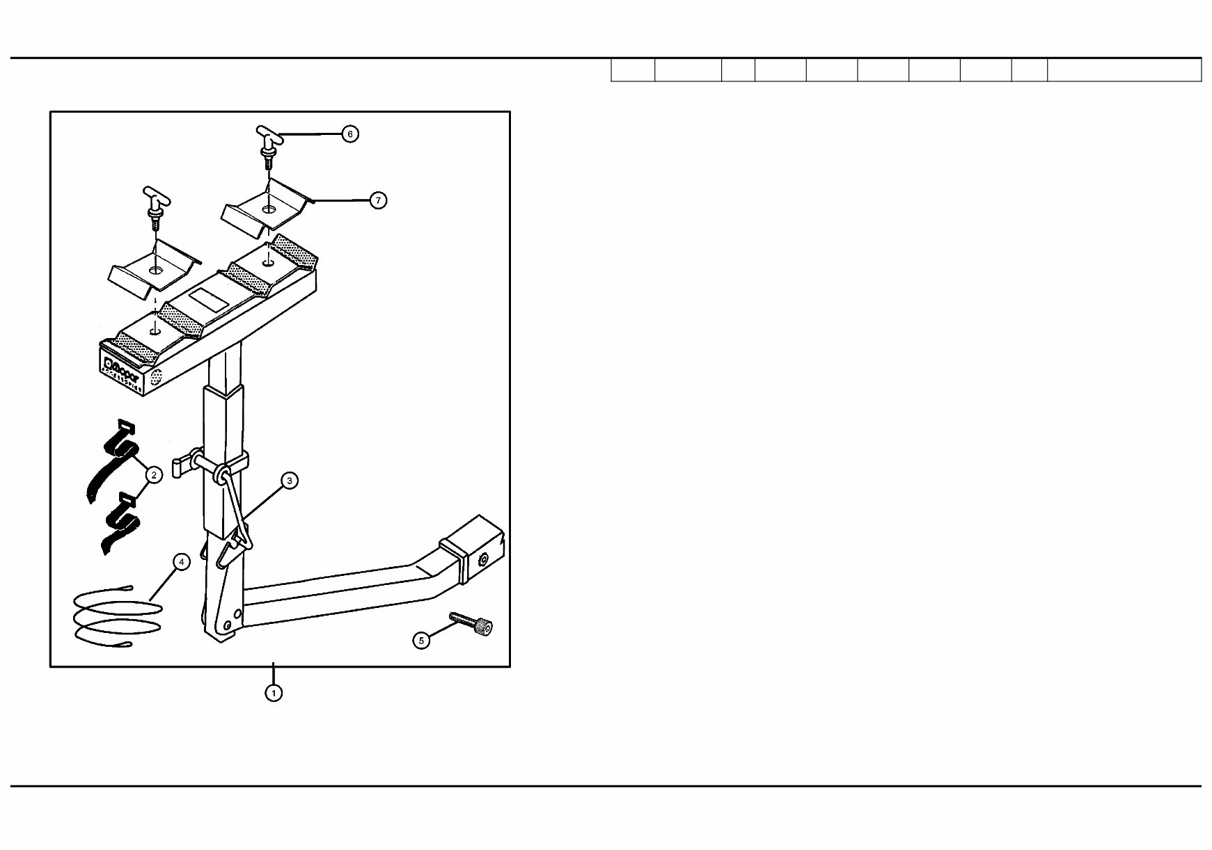
Bike Carrier - Roof Mount Figure 1-214 ITEM PART NUMBER QTY LINE SERIES BODY ENGINE TRANS TRIM DESCRIPTION Bike Carrier - Roof Mount BC-RMNOTE: Kit has Uprignt Clamp for Bike. 1 82203471 1 CARRIER KIT, Bike, Upright - Mount 2 05016512AA 1 HARDWARE KIT, Accessory 3 05016513AA 1 STRAP, Cargo Tie Down 4 05018194AA 1 HARDWARE KIT, Bike Carrier CHEROKEE (XJ) SERIES LINE BODY ENGINE TRANSMISSION P = Limited S = Limited L = SE H = Sport B = JEEP - 2WD (RHD) J = JEEP - LHD 4WD T = LHD (2WD) U = RHD (4WD) 72 = SPORT UTILITY 2-DR 74 = SPORT UTILITY 4-DR ENC = ENGINE - 2.5L 4 CYL TURBO DIESEL ERH = ENGINE - 4.0L POWER TECH I-6 DDD = TRANSMISSION - 5-SPEED HD MANUAL DGS = TRANSMISSION-4SPD. AUTO,AISIN WARNER DG0 = Transmissions - All Automatic DBB = ALL MANUAL TRANSMISSIONS AR = use ase required - = Non illustrrated part 2001 XJ << RETURN TO GROUP INDEX
Carrier Kit - Canoe Figure 1-220 ITEM PART NUMBER QTY LINE SERIES BODY ENGINE TRANS TRIM DESCRIPTION Carrier Kit - Canoe CK-CNOTE: Use only with Sport Utility Bar NOTE: Hardware Kit also contained in Carrier Kit 1 82204700 1 J, T 72, 74 CARRIER KIT, Water Sports 2 05016389AA 1 J, T 72, 74 HARDWARE KIT, Accessory, Consists of: 4- 25MM Button Head Screws, 4- 30MM Button Head Screws, 4- Lock Washers, 4- Dome Washer, 4- Rubber Washers and 4- T-Nuts. 3 05016511AA 1 J, T 72, 74 STRAP, Cargo Tie Down 4 05016510AA 1 J, T 72, 74 BRACKET, Cargo Tie Down CHEROKEE (XJ) SERIES LINE BODY ENGINE TRANSMISSION P = Limited S = Limited L = SE H = Sport B = JEEP - 2WD (RHD) J = JEEP - LHD 4WD T = LHD (2WD) U = RHD (4WD) 72 = SPORT UTILITY 2-DR 74 = SPORT UTILITY 4-DR ENC = ENGINE - 2.5L 4 CYL TURBO DIESEL ERH = ENGINE - 4.0L POWER TECH I-6 DDD = TRANSMISSION - 5-SPEED HD MANUAL DGS = TRANSMISSION-4SPD. AUTO,AISIN WARNER DG0 = Transmissions - All Automatic DBB = ALL MANUAL TRANSMISSIONS AR = use ase required - = Non illustrrated part 2001 XJ << RETURN TO GROUP INDEX
The Jeep Cherokee WJ & XJ 1993-2001 Parts Manual is a comprehensive guide that provides detailed information on the various parts and components of the Jeep Cherokee models from 1993 to 2001. Whether you are a car enthusiast, a mechanic, or a Jeep owner, this manual is an essential tool to have.
This manual includes an extensive list of parts and their corresponding part numbers, making it easy for you to identify and order the correct parts for your Jeep Cherokee. Whether you need to replace a faulty component or upgrade your vehicle, this manual will help you find the right parts with ease.
The parts manual covers both the Jeep Cherokee WJ and XJ models, ensuring that it caters to a wide range of Jeep Cherokee owners. From engine parts to suspension components, electrical systems to interior accessories, this manual provides a comprehensive listing of all the parts that make up these Jeep models.
With the Jeep Cherokee WJ & XJ 1993-2001 Parts Manual, you can confidently navigate through the intricate world of Jeep Cherokee parts and ensure that you have the correct information to maintain and repair your vehicle. Keep this manual handy and never again be unsure about the parts you need for your Jeep Cherokee.