SPECIAL CAUTIONS AIR BAGS Refer to Procedure Explanation 29 for Supplemental Restraint/Air Bag Special Cautions. PAINT CODE LOCATION Paint code located on tire well. CLEAR COAT IDENTIFICATION All colors are clear coat. White Pearl (Code 93), Canyon Yellow Pearl (Code 58) and Red Pearl Metallic (Code 86) are three stage. INFORMATION LABELS 1 Label, Cooling System Cooling 92-93 3521178 $18.22 Cooling/SIR 93 3540425 $11.03 94 3540433 $16.40 95-96 25641559 $18.35 97-02 25665419 $29.25 2 Label, Emission Control 3522937 $17.55 Order by Application 3 Label, SIR System Service On Column 1992 3536496 $17.81 1993 1992-2002 Cadillac Eldorado Page 1 of 143
4.6L Eng 3538769 $18.15 4.9L Eng 3532279 $16.81 1994-97 3538769 $18.15 1998-02 15001745 $15.86 4 Label, Child Security-Not Applicable Label, Jack Caution 96-02 25742390 $25.75 5 Label, Spare Wheel Caution 25558496 $17.66 Label, Spare Wheel/Jack Info 96-02 25695289 $18.70 Label, Jack Usage 3535561 $17.20 6 Label, Theft Deterrent System 1258609 $17.78 7 Label, Fuel 92-97 25633060 $15.09 98-02 10445318 $19.25 Label, Fluid ID 92-93 1641395 $17.37 FRONT BUMPER Use Procedure Explanations 1 and 28 with the following text. 1992-94 Refinish Front Cover w/Fog Lamps 2.2 w/o Fog Lamps 2.1 R&I Bumper Assy w/Fog Lamps 1.3 w/o Fog Lamps 1.2 O/H Bumper Assy (Includes R&I) #2.5 #Includes R&I/R&R Side Marker Lamps Add to R&R or O/H Bumper Assy w/Fog Lamps .2 Page 2 of 143
NOTE: All Parts in this section are included in overhaul unless noted otherwise. 1 Cover, Front (P) w/Fog Lamps 3548896 $495.34 #2.5 #Includes R&I/R&R Side Marker Lamps w/o Fog Lamps 3548894 $402.05 #2.5 (P) Paint to Match #Includes R&I/R&R Side Marker Lamps 2 Retainer, Cover (Push-In) (2/Side) R 3548804 $6.12 L 3548804 $6.12 3 Extension, Cover R 3537353 $42.29 .2 L 3537535 $27.07 .2 4 Bracket, License 20726281 $65.42 .3 5 Mldg, Upr Otr Cover R 3535085 $172.14 #1.5 L 3535086 $140.52 #1.5 6 Mldg, Upr Ctr Cover 20726263 $173.20 #1.5 #R&R Complete, Includes R&I Bumper Assy, w/Fog Lamps Add .1 7 Mldg, Lower Cover Black 3526803 $235.34 .4 Black/Blue 3535355 $148.30 .4 Order by Application 8 Filler, Front 16517393 $31.31 IOH 9 Retainer, Filler (8) 3543865 $2.58 10 Bar, Impact 3545844 $392.07 #2.5 #Under No Circumstances Should this Impact Bar be Repaired 11 Absorber, Impact R 22105974 $277.97 #.3 L 22105974 $277.97 #.3 #w/Bumper Assy Removed, Not Included in O/H 1995-02 Page 3 of 143
Refinish Front Cover 2.2 Refinish Cover Moulding R .4 L .4 Refinish License Bracket .4 R&I Bumper Assy 1.2 O/H Bumper Assy (Includes R&I) #2.2 #Includes R&I/R&R Side Marker Lamps NOTE: All Parts in this section are included in overhaul unless noted otherwise. 1 Cover, Front (P) 25682385 $430.05 #2.2 (P) Paint to Match #Includes R&I/R&R Side Marker Lamps 2 Moulding, Cover 1995-98 R 3541498 $76.92 #1.5 L 3541499 $78.02 #1.5 1999-02 Chrome R 3541498 $76.92 #1.5 L 3541499 $78.02 #1.5 Paint to Match R 25698156 $55.10 #1.5 L 25698157 $55.47 #1.5 #R&R One or Both, Includes R&I Front Cover 3 Extension, Cover R 25684370 $15.19 .4 L 25684371 $20.63 .4 4 Bracket, Outer Cover R 3545635 $15.36 #1.5 L 25727794 $14.63 #1.5 5 Guide, Outer R 3534030 $6.76 #1.5 L 3534030 $6.76 #1.5 #R&R Complete, Includes R&I Bumper Assy 6 Bar, Impact 25636526 $319.48 #2.2 #Under No Circumstances Should this Impact Bar be Repaired 7 Absorber, Impact R 22177042 $587.24 #.3 L 22177042 $587.24 #.3 #w/Bumper Assy Removed, Not Included in O/H 8 Brkt, License (P) 3542280 $60.15 .3 (P) Paint to Match GRILLE 1992-94 Page 4 of 143
Refinish Grille 1.0 R&I Grille #.2 #Included in R&R Hood 1 Grille Chrome w/Touring Coupe 3545715 $598.00 #.3 w/o Touring Coupe 20726287 $353.73 #.3 Paint to Match 92-94 3545366 $413.01 #.3 #Included in R&R Hood 2 Emblem, Grille (a) w/o Touring Coupe 3528835 $62.35 #.2 Order by Application (a) w/Touring Coupe-Serviced w/Grille #Included in R&R Grille 3 Bracket, Grille 20726272 $7.40 4 Retainer, H/Lamp Filler R 20729826 $41.48 L 20729827 $41.48 1995-02 1995-02 W/TOURING COUPE Page 5 of 143
Refinish Grille 1.0 R&I Grille #.2 #Included in R&R Hood 1 Grille Mocha, (RPO-60U) 95 3546801 $221.70 #.3 Paint to Match 12335620 $377.22 #.3 #Included in R&R Hood 2 Crest, Grille 25676200 $37.51 #.2 3 Wreath, Grille 3542782 $49.33 #.2 #Included in R&R Grille 4 Bracket, Outer R 3543025 $23.90 L 3543026 $23.38 1995-02 1995-02 W/O TOURING COUPE Refinish Grille 1.0 R&I Grille #.2 #Included in R&R Hood 1 Grille Mocha, (RPO-60U) 95 3548040 $232.53 #.3 Paint to Match 12335621 $353.42 #.3 #Included in R&R Hood 2 Crest, Grille 25676200 $37.51 #.2 3 Wreath, Grille 3542782 $49.33 #.2 #Included in R&R Grille 4 Bracket, Outer R 3543025 $23.90 L 3543026 $23.38 FRONT LAMPS Page 6 of 143
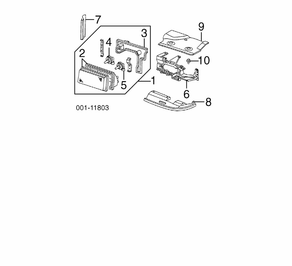
HEADLAMP Aim Lamps .4 Refinish Lamp Opening Lwr Filler R .3 L .3 R&I Lamp Assy R #.3 L #.3 #Included in R&R Front Fender NOTE: R&R Does Not include aim lamps. 1 Headlamp Assy R 19178230 $374.47 #.3 L 19178229 $502.76 #.3 #Included in R&R Front Fender 2 Lens w/Housing R 19178392 $200.76 .4 L 19178391 $282.17 .4 3 Bracket, Mounting R 16515836 $195.49 L 16515835 $138.69 4 Bulb, High Beam R 9441732 $19.30 #.2 L 9441732 $19.30 #.2 5 Bulb, Low Beam R 1999366 $20.30 #.2 L 1999366 $20.30 #.2 Included w/Headlamp Assy #Included in R&R Lamp Assy 6 Housing, Headlamp R 3548057 $73.60 #.5 L 3548058 $71.62 #.5 7 Filler, Side Opng Lamp 92-96 R 20726874 $4.10 #.5 L 20726875 $3.84 #.5 8 Filler, Lwr Opng Lamp (P) w/Seal R 12537559 $119.45 #.5 L 12537560 $119.82 #.5 Page 7 of 143
(P) Paint to Match #R&R One Side Complete, Includes R&I Lamp Assy 9 Shield, Upper R 25648024 $25.04 L 25648025 $25.11 10 Retainer, Shield (4) R 1638601 $6.65 L 1638601 $6.65 PARK/SIGNAL LAMP R&I Park/Signal Lamp R #.2 L #.2 #Included in R&I/R&R Front Fender 1 Lamp Assy, Park/Signal R 16520052 $60.32 #.2 L 16520051 $52.53 #.2 #Included in R&I/R&R Front Fender 2 Bulb, Park/Signal R 9441838 $2.26 #.2 L 9441838 $2.26 #.2 3 Bulb, Cornering R 9417866 $1.32 #.2 L 9417866 $1.32 #.2 #R&R One Side Complete, Included in R&R Park/Signal Lamp Assy 4 Socket, Park/Signal 1992-98 R 8914823 $97.24 L 8914823 $97.24 1999 Bayonet Type Bulb R 8914823 $97.24 L 8914823 $97.24 Wedge Type Bulb R 12159662 $78.88 L 12159662 $78.88 2000-02 R 12159662 $78.88 Page 8 of 143
L 12159662 $78.88 5 Socket, Cornering R 12027133 $27.60 L 12027133 $27.60 Included w/Park/Signal Lamp Assy SIDE MARKER LAMP R&I Side Marker Lamp R #.2 L #.2 #Included in R&R or O/H Front Bumper Assy 1 Lamp, Side Marker 92-94 R 5977154 $33.31 #.3 L 5977154 $33.31 #.3 95-02 R 5978218 $22.41 #.3 L 5978217 $22.72 #.3 #Included in R&R or O/H Front Bumper Assy 2 Bulb R 9421330 $0.84 #.2 L 9421330 $0.84 #.2 #Included in R&R Lamp Assy 3 Socket w/Wire 92 R 88986416 $50.32 L 88986416 $50.32 93 R 12001470 $26.70 L 12001470 $26.70 94-02 R 88986416 $50.32 L 88986416 $50.32 FOG LAMP Page 9 of 143
R&I Fog Lamp Assy R #.3 L #.3 #Included in R&R or O/H Front Bumper Assy 1 Lamp, Fog R 16520630 $294.60 #.4 L 16520629 $288.89 #.4 #Included in R&R or O/H Front Bumper Assy 2 Bulb w/Socket R 9442879 $17.16 #.2 L 9442879 $17.16 #.2 #Included in R&R Lens w/Housing 3 Retainer, Pivot (4) R 16514113 $0.82 L 16514113 $0.82 4 Bracket, Retainer R 16516349 $36.51 L 16516349 $36.51 5 Screw, Adjuster R 16507934 $1.38 L 16507934 $1.38 6 Spring, Adjuster R 12337881 $2.82 L 12337881 $2.82 7 Bracket, Lamp 92-94 R 3524570 $14.90 L 3524571 $14.90 HOOD Use Procedure Explanations 4 and 28 with the following text. Page 10 of 143
Title: 1992 - 2002 Cadillac Eldorado Parts LIST CATALOG
Front Bumper Assembly
Rear Bumper Assembly
Headlights Pair
Taillights Pair
Grille
Door Handle
Side Mirror
Window Regulator
Power Steering Pump
Brake Pads Set
Shock Absorber Set
Radiator
Air Filter Box
Complete Exhaust System
Alternator
Starter
AC Compressor
Fuel Pump
Water Pump
Find all the essential parts you need for your 1992 - 2002 Cadillac Eldorado in our comprehensive Parts LIST CATALOG. We offer a wide range of high-quality components to ensure optimal performance and functionality for your Cadillac Eldorado.
Our catalog includes parts such as front and rear bumper assemblies, headlights and taillights, grille, door handles, side mirrors, window regulators, power steering pumps, brake pads set, shock absorber set, radiator, air filter box, complete exhaust system, alternator, starter, AC compressor, fuel pump, and water pump.
Rest assured that our parts are designed to meet or exceed the original specifications of your Cadillac Eldorado, guaranteeing a perfect fit and reliable performance. Enhance the appearance and functionality of your vehicle with our top-notch parts.
Shop now and experience the convenience of finding all your 1992 - 2002 Cadillac Eldorado parts in one place. Choose quality, choose reliability - choose our Parts LIST CATALOG.