LA 301 KUBOTA Loader Parts Manual - ILLUSTRATED MASTER Parts LIST Manual - (BEST Manual AVAILABLE) - LA301 KUBOTA LOAD
Get your hands on the comprehensive "LA 301 Kubota Loader" Parts Manual now! This illustrated master parts list manual is available in high-quality format, instantly downloadable, and can be saved on your computer for quick access.
Whether you are a professional mechanic or a DIY enthusiast, this manual is compatible with all versions of Windows and Mac, and it is easily searchable and fully indexed for your convenience. The language used in this manual is English.
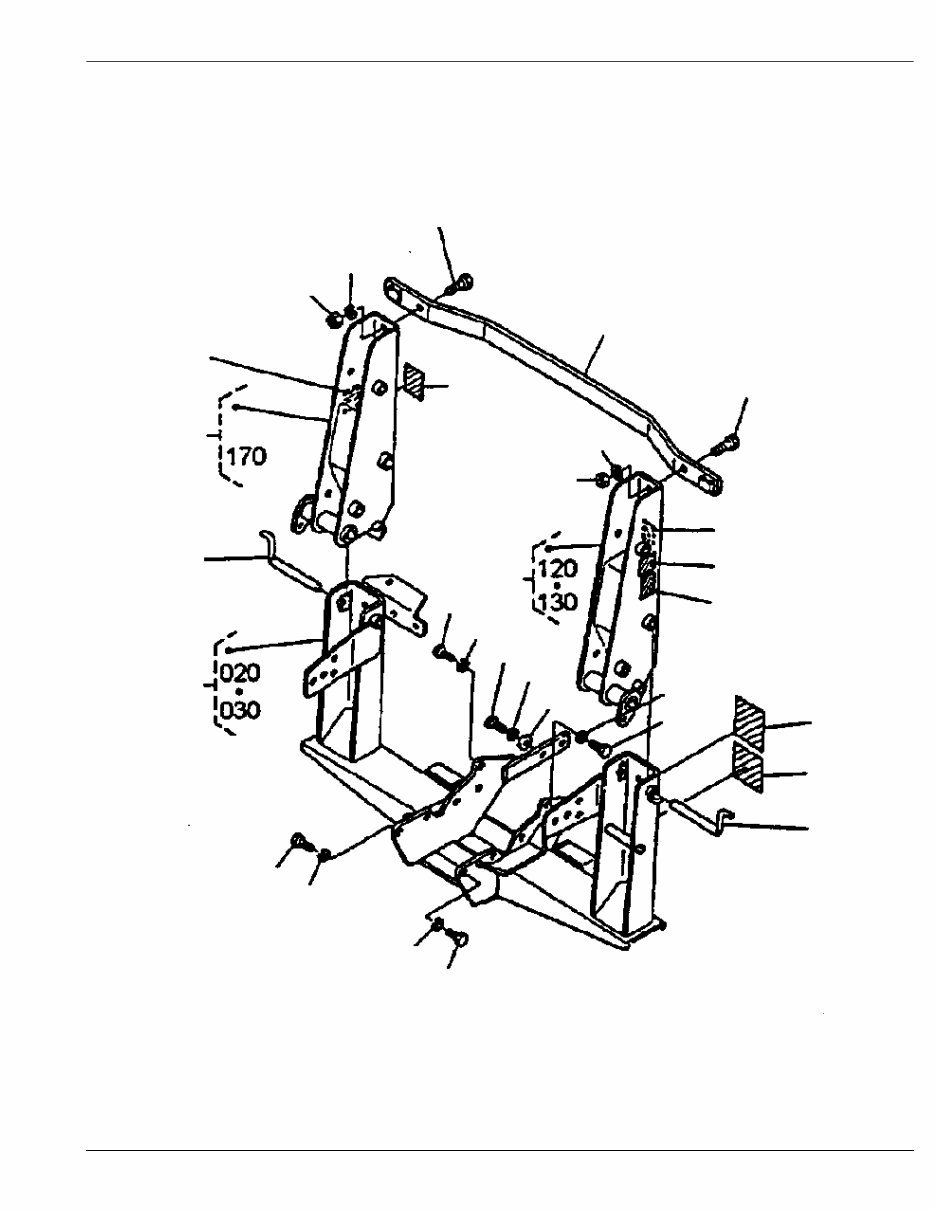
The manual covers a wide range of components including the main frame, boom, control valve, control lever, hydraulic tubes, and much more. It provides parts diagrams, exploded views, serial numbers, part descriptions, and remarks, making it an ideal companion for servicing, repairing, rebuilding, and replacing parts on your LA 301 Kubota Loader.
Delivered in a .PDF format, this manual can be instantly accessed and stored on your computer, allowing for easy reference and printing of specific pages as needed. Say goodbye to the hassle of waiting for delivery and the wear and tear of traditional paper manuals.
Don't miss out on this opportunity to have all the original parts information at your fingertips. Order this .PDF manual now and expedite your repair processes without delay!
- LA 301 Kubota Loader Parts Manual
- Owners Manual
- Service Manual
- Operators Manual
- Wiring Diagram
- Online Manuals
- Parts Diagram
- Workshop Manual
- Parts Breakdown
- Exploded Parts View
If you are looking for other Kubota service, repair, or parts manuals, please visit: Kubota Manuals
Thank you for visiting this page! Have a great day!









