Land Rover R380 Manual Gearbox Overhaul Workshop Service & Repair Manual
What's Included?
Lifetime Access
Fast Download Speeds
Online & Offline Access
Access PDF Contents & Bookmarks
Full Search Facility
Print one or all pages of your manual
R380 GEARBOX OVERHAUL MANUAL This Overhaul Manual contains information applicable to the following models: New Range Rover Range Rover Classic 1995 Models on Discovery 1995 Models on Defender 1995 Models on Publication Part No.LRL 0003ENG - 2nd Edition Published by Rover Technical Communication ï›™ 1996 Rover Group Limited
INTRODUCTION INTRODUCTION 1 INTRODUCTION How to use this manual To assist in the use of this manual the section title is given at the top and the relevant sub - section is given at the bottom of each page. This manual contains procedures for overhaul of the R380 gearbox on the bench with the clutch and, if applicable, the transfer box removed. For all other information regarding Adjustments, Removal of oil seals, clutch, transfer box and gearbox unit, consult the appropriate Repair Manual for the model concerned. This manual is divided into 5 sections, Data, Torque Settings, Service Tools, Description and finally, Overhaul.To assist filing of revised information each sub - section is numbered from page 1. The individual overhaul items are to be followed in the sequence in which they appear. Items numbered in the illustrations are referred to in the text. Overhaul operations include reference to Service Tool numbers and the associated illustration depicts the tool in use. Operations also include reference to wear limits, relevant data, torque figures, and specialist information and useful assembly details. WARNINGS, CAUTIONS and Notes have the following meanings: WARNING: Procedures which must be followed precisely to avoid the possibility of injury. CAUTION: Calls attention to procedures which must be followed to avoid damage to components. NOTE: Gives helpful information. References Operations covered in this manual do not include reference to testing the vehicle after repair. It is essential that work is inspected and tested after completion and if necessary, a road test of the vehicle is carried out, particularly where safety related items are concerned. Dimensions The dimensions quoted are to design engineering specification with Service Limits where applicable. REPAIRS AND REPLACEMENTS When replacement parts are required it is essential that only Rover/Land Rover recommended parts are used. Attention is particularly drawn to the following points concerning repairs and the fitting of replacement parts and accessories. Safety features embodied in the car may be impaired if other than Rover/Land Rover recommended parts are fitted. In certain territories, legislation prohibits the fitting of parts not to the manufacturer’s specification. Torque wrench setting figures given in this Manual must be used. Locking devices, where specified, must be fitted. If the efficiency of a locking device is impaired during removal it must be renewed. The Terms of the vehicle Warranty may be invalidated by the fitting of other than Rover/Land Rover recommended parts. All Rover/Land Rover recommended parts have the full backing of the vehicle Warranty. Rover/Land Rover Dealers are obliged to supply only recommended parts.
INTRODUCTION 2 INTRODUCTION SPECIFICATION Rover/Land Rover are constantly seeking to improve the specification, design and production of their vehicles and alterations take place accordingly. While every effort has been made to ensure the accuracy of this Manual, it should not be regarded as an infallible guide to current specifications of any particular component or vehicle. This Manual does not constitute an offer for sale of any particular component or vehicle. Rover/Land Rover Dealers are not agents of Rover/Land Rover and have no authority to bind the manufacturer by any expressed or implied undertaking or representation. GEARBOX IDENTIFICATION The procedures given in this manual cover overhaul of the R380 gearbox fitted to a range of vehicles and as such, certain differences exist between gearboxes, particularly in respect of the extension housings, gear change housings and transfer box selector housings. It is important therefore that before starting work, the gearbox to be overhauled is correctly identified. Identification can be made by noting the gearbox serial number prefix stamped on the RH side of the gearbox casing and referring to the following table which lists four types of gearbox, A, B, C and D together with their appropriate serial number prefixes. NOTE: The gearbox types listed are only intended as an aid to identification and do not relate to gearbox part numbers or a particular vehicle. Overhaul operations in this manual list the applicable gearbox type referred to and it is important that the relevant operation is followed. Type A gearbox prefixes: - 50A; 51A; 56A; 58A; 60A; 61A; Type B gearbox prefixes: - 53A; 55A; 63A Type C gearbox prefix: - 18A Type D gearbox prefixes: - 64A; 65A
MANUAL GEARBOX GENERAL DATA 1 REVISED: 12/96 GENERAL DATA NEW SERVICE LIMIT Baulk ring clearances 0.5 mm (0.02 in) 1st gear end float 0.05 - 0.20 mm (0.002 - 0.008 in) 0.327 mm (0.013 in) 2nd gear end float 0.04 - 0.21 mm (0.0016 - 0.0083 in) 0.337 mm (0.13 in) 3rd gear end float 0.11 - 0.21 mm (0.004 - 0.0083 in) 0.337 mm (0.13 in) Adjust 5th - reverse hub - shim to - 0.005 - 0.055 mm (0.002 - 0.022 in) 0.055 mm (0.022 in) Reverse gear idler shaft clearance 0.04 - 0.38 mm (0.0016 - 0.015 in) 0.38 mm (0.015 in) Mainshaft end float 0.01 - 0.06 mm (0.0004 - 0.0024in) 0.06 mm (0.0024 in) Layshaft end float 0.01 - 0.06 mm (0.0004 to 0.0024 in) 0.06 mm (0.0024 in) Lubricants ATF M2C33 F or G Capacities Oil cooler fitted = 3.4 litres Non oil cooler type = 2.9 litres Sealants Joint faces - Hylosil RTV 102 Available through Unipart Bolts and filler plug - Loctite 270 or Marston Bentley Hylogrip 640 (studlock)
MANUAL GEARBOX TORQUE WRENCH SETTINGS 1 REVISED: 12/96 TORQUE WRENCH SETTINGS Oil pump to extension case 6 Nm Attachment plate to gearcase 8 Nm Attachment plate to remote housing 8 Nm Bottom cover to clutch housing 8 Nm Breather baffle 8 Nm Clip to clutch release lever 8 Nm Cover to gear change housing 8 Nm Spool retainer to gear case 8 Nm Torsion spring locknut - adjusting screw 8 Nm Screw - gear lever retention 8 Nm Breather 15 Nm Gear lever retainer bolt 15 Nm Reverse inhibitor shaft 16 Nm Reverse light switch 24 Nm Transfer box to remote housing bolts 25 Nm Bias adjustment plate bolts 25 Nm Selector quadrant setscrew 25 Nm Gear change lever yoke setscrew 25 Nm Adjustment plate to gear change housing 25 Nm Extension case to gear case 25 Nm Front cover to gear case 25 Nm Gear change housing to extension case 25 Nm Gear lever housing to remote housing 25 Nm Guide - clutch release sleeve to bell housing 25 Nm Mounting bracket 25 Nm Pivot clutch lever to bell housing 25 Nm Pivot plate to bell housing 25 Nm Plug - detent ball and spring 25 Nm Plunger housing to gear change housing 25 Nm Remote selector housing to extension case 25 Nm Slave cylinder to clutch housing 25 Nm Upper gear lever assembly to lower gear lever 25 Nm Yoke to selector shaft 25 Nm Filler plug 30 Nm Oil level plug 30 Nm Oil drain plug 50 Nm Clutch housing to gearbox 72 Nm Output flange bolt 90 Nm 5th gear layshaft stake nut 220 Nm
MANUAL GEARBOX SERVICE TOOLS 1 SERVICE TOOLS NOTE: Where the use of special tools is specified, only these tools should be used to avoid the possibility of personal injury and or damage to components. Land Rover Number Rover Number Description LRT-37-001 18G47BA Adaptor input shaft bearing LRT-37-002 18G47BAX Conversion kit LRT-37-004 18G284AAH Adaptor for input shaft pilot bearing track LRT-37-009 18G705 Puller, bearing and oil seal collar remover LRT-37-010 18G705-1A Adaptor for mainshaft oil seal collar LRT-37-014 18G1422 Mainshaft rear oil seal replacer LRT-37-015 18G1431 Mainshaft rear support bearing track and oil seal collar replacer. LRT-37-021 - Adaptor for mainshaft rear support bearing track and oil seal collar replacer. LRT-37-022 - Adaptor for layshaft bearings LRT-37-023 - Layshaft holding tool LRT-37-024 - Rear mainshaft bearing track remover LRT-51-003 18G1205 Flange holder LRT-99-002 M547 Hand press LRT-99-004 18G284 Impulse extractor Service tools must be obtained direct from the manufacturers: V.L.Churchill, P.O. Box No. 3, London Road, Daventry, Northants, NN11.4NF England
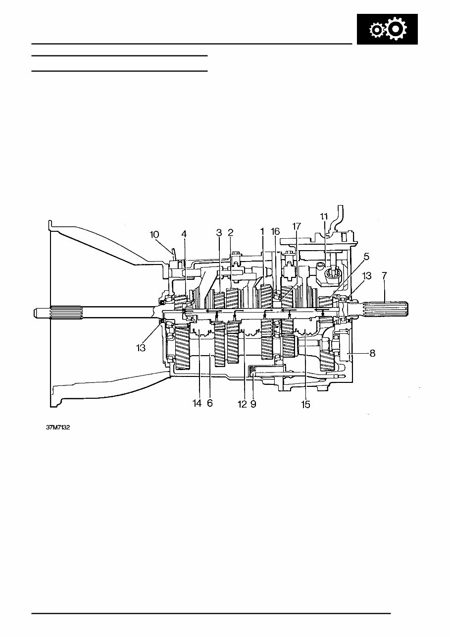
MANUAL GEARBOX DESCRIPTION AND OPERATION 1 REVISED: 12/96 DESCRIPTION The R380 5 speed all synchromesh gearbox comprises an input shaft, output shaft, layshaft and reverse idler shaft . Gearbox casings consist of a front cover, gearcase, centre plate and extension housing, all casings are located by dowels and sealed. Selector forks for 1st/2nd and 3rd/4th gears are located on a single selector shaft inside the main gearcase whilst the selector fork for fifth and reverse gear is located on the same selector shaft inside the extension housing. The input shaft, output shaft and layshaft are supported by taper roller bearings with all gears running on caged needle roller bearings. Output shaft and layshaft bearings end float is controlled by selective thrust washers located in the centre plate. Lubrication is by an oil pump located in the extension housing which directs oil via internal drillings in the output shaft to lubricate the components. 1. Mainshaft 1st gear 2. Mainshaft 2nd gear 3. Mainshaft 3rd gear 4. Primary input shaft/4th gear 5. Mainshaft 5th gear 6. Layshaft 7. Mainshaft 8. Lubrication pump 9. Oil filter 10. Breather 11. Single rail gear shift 12. 1st/2nd synchromesh 13. Oil seals 14. 3rd/4th gear synchromesh 15. 5th/reverse gear synchromesh 16. Selective spacers (mainshaft & layshaft end float) 17. Selective spacer (5th gear/reverse hub) 12/96
MANUAL GEARBOX 2 DESCRIPTION AND OPERATION REVISED: 12/96
Get your hands on the comprehensive Land Rover R380 Manual Gearbox Overhaul Workshop Service & Repair Manual. This detailed manual is an invaluable resource for both professional mechanics and DIY enthusiasts. It covers the entire gearbox from start to finish and includes step-by-step instructions and highly detailed exploded pictures to guide you through the required job with precision and efficiency.
Applicable to various models including New Range Rover, Range Rover Classic 1995 Models on, Discovery 1995 Models on, Defender 1995 Models on, and Discovery 2, this manual provides information on repairs and replacements, specifications, and gearbox identification.
Designed for easy access, this manual can be viewed on your Windows PC, Mac, tablet, smartphone, and more. You can also print the necessary sections or the entire manual for offline use. With instant delivery via digital download, there are no shipping costs or waiting for physical delivery. This is the only workshop service manual you will ever need.
For any specific manual needs, feel free to search our shop or contact our customer support team, and we will strive to fulfill your requirements. Thank you for visiting our page, and have a great day!
Recently Viewed
5,521,897Happy Clients
2,594,462eManuals
1,120,453Trusted Sellers
15Years in Business
Price:
Actual Price:
Land Rover R380 Manual Gearbox Overhaul Workshop Service & Repair Manual