2 Tuning the HSR42/45/48 Carburetors Eagle parts as a “reality check.” When re-tuning is required, it usually involves small alterations to the idle and/or main system. The following pages supply enough information to make such alterations relatively simple. Please note that there is no point in attempting to tune any carburetor unless the engine is sound and in a good state of tune. If you have any doubts about the general condition of your engine, have it checked by your dealer or an experienced mechanic before attempting to fine-tune your Mikuni. AIR LEAKS: We have found that Harley-pattern engines tend to develop minor air leaks between the manifold and heads. These leaks affect air/fuel mixtures at low throttle settings and can be troublesome at idle. For best performance, it is important that you test for and eliminate any such leaks. The test is simple : With the engine warm and idling, spray WD-40 or similar paint-safe liquid around the junctions of the manifold, carb and heads. If the engine changes from its steady idle, if it surges or misses, then there is an air leak that should be corrected. Be sure to keep the spray away from the air cleaner to avoid a false indication. Your Mikuni HSR comes from the factory with the tuning parts we found to work with the great majority of engine performance modifications. However, the large number of differing after market exhaust and air cleaner systems makes it virtually impossible to accommodate all possible combinations with one carburetor set-up. Your HSR will almost certainly run correctly on your engine with the installed parts. But, if it doesn’t, you may alter its tuning to suit your engine’s needs by following this guide. Some exhaust system designs strongly interfere with carburetor tuning. For instance, it is very difficult to get smooth and responsive carburetion through the entire rpm range with open straight pipes and other unbaffled exhausts. In addition, very small volume, small diameter mufflers are often ‘seen’ by the engine as straight pipes and present similar tuning difficulties. Very long duration cams often cause relatively poor running below 3,000 rpm, depending upon the individual cam’s intake valve closing point. Such cams cause reverse airflow out the mouth of the carburetor (often called “reversion” or “stand-off”) that can be mistaken for a carburetor tuning problem. If you have any doubts about a particular exhaust system, air cleaner or ignition, you may substitute the Harley Screamin’
3 For a quick and accurate analysis, when fine-tuning your HSR, we recom- mend using “witness” marks on the throttle grip and throttle housing. Use masking tape on the grip and an indica- tor mark on the throttle housing. Mark the tape in throttle increments from idle to full throttle. You can then accurately identify the throttle opening and adjust the proper tuning components. Figure: T1 HSR TUNING SYSTEMS: The HSR carburetor is divided into four interdependent systems: 1. Choke system 2. Idle system 3. Main system 4. Accelerator pump system Each of these systems has its major effects in a different throttle range. While there may be some overlap, each system can generally be treated as though it is completely responsible for air/fuel mixtures within its range of throttle settings. Three of the systems have replaceable components that allow fine-tuning should the need arise. CHOKE SYSTEM: The choke system’s purpose is to provide the rich air/fuel mixture an engine needs to start and run reliably when cold. There are no replaceable tuning parts in the HSR choke mechanism. The choke is designed to work correctly with the throttle closed. Opening the throttle greatly reduces the action of the choke. Make sure that the stock Harley- Davidson choke cable is fully seated in the metal elbow at the carburetor end of the cable assembly (see Installation Instructions). Harley ‘s cable is stiff and can fail to fully seat in the elbow. This condition results in poor mileage and a poor idle. The Mikuni choke cable is more flexible and less likely to jam. Still, it is best to check to be sure the cable is installed correctly. IDLE SYSTEM: (Idle - 1/8 throttle) The HSR idle system has two tunable components: the Pilot Air Screw and the Pilot Jet . The air screw’s purpose is to fine-tune the mixture at idle. The pilot jet controls the total amount of fuel passing through the idle system. The pilot jet can be exchanged for a richer or leaner one if needed (see the note on the following page). The pilot air screw is set at two turns open from the factory. This is the position we have found to be correct most of the time. If the screw position has been altered, gently bottom it and re-open it two full turns. Next, run the engine until it reaches normal running temperature. With the engine idling smoothly, adjust the pilot air screw in slowly until the idle either slows or becomes irregular, then turn the screw out until the engine again slows or begins to idle irregularly. NOTE: NOTE:
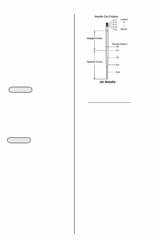
4 Count the number of turns between the two positions. Set the air screw mid-way between these too-rich and too-lean positions. Use the Idle Adjuster to re-set the idle speed. If the engine becomes too hot during the adjustment procedure, the resulting idle mixture will prob ably be on the lean side of correct. If you have a large fan, use it while adjusting the mixture. If you do not have one, you may need to take time out for a short ride to cool the engine back to normal temperature. NOTE: 1. If the best idle is achieved with the air screw less than one turn out, the pilot jet is too small and should be exchanged for a larger one. 2. If the engine speed does not slow after two-and-a-half turns out, the pilot jet is too large and should be exchanged for a smaller one. MAIN SYSTEM NOTE: Cam design effects When testing, consider the rpm effects of any accessory cam you may have installed. Long duration cams with late closing intake timing tend to perform poorly below some critical minimum rpm. If you attempt to test below this rpm, the engine may seem soft, flat and unresponsive. No carburetor can compensate for the engine being “off the cam.” All jet needle and main jet testing should be done with the engine near the middle of its rpm range, but high enough to be “on the cam.” All testing should be done with the engine at normal operating temperature. Figure: T2 JET NEEDLE (off-idle - 1/4 throttle) (see Fig. T2) The straight diameter portion of the jet needle controls the mixture from just above idle to approximately 1/4 throttle. If the mixture is too rich or too lean in this throttle range, the needle will need to be exchanged for one with a larger or smaller diameter. HSR jet needles are available in four sizes. Only the diameter of the straight part of the four jet needles differ. The richest is the “-95” and “-98” is leanest. LEAN CONDITION: If the needle is too lean, part throttle acceleration will be flat (remember the possible effects of cams & exhausts). There may also be some detonation during part throttle acceleration in the 2500 - 3000 rpm range, (although this may have other causes such as an ignition that advances too quickly). A lean needle also results in an abnormally slow warm-up. If any of these conditions exist, install a one size richer needle and compare the performance.
5 RICH CONDITION: While a black, sooty spark plug is a sure sign of richness, others are more subtle. If your engine responds crisply at low throttle openings when cold, chances are the needle is one size smaller (richer) than it needs to be. This assumes, of course, that the idle mixture is correctly tuned. Poor fuel mileage is another sign of an over-rich condition. Fuel mileage is usually measured at cruising speeds (65 mph on a flat, windless road) where the jet needle is the main mixture control. Poor milege at these speeds can be corrected by fitting a leaner jet needle. Raising or lowering the jet needle has no effect on fuel mileage below about 70 mph. JET NEEDLE (1/4 - 3/4 THROTTLE) The tapered portion of the jet needle rises out of the needle jet at about 1/4 throttle. From that point until the main jet takes over near 3/4 throttle, the jet needle taper is the main control of mixture strength. LEAN CONDITION: If acceleration seems soft or flat and the engine is slow to respond when the throttle is quickly opened from the 1/2 throttle position, the mixture is too lean. Raise the needle one notch and repeat the test. RICH CONDITION: If acceleration is crisp but the engine hesitates or staggers as the throttle is quickly closed from 3/4 to 1/2 throttle, the mixture is too rich. Lower the needle one notch and repeat the test. The needle will be correct when acceleration is crisp at mid-rpm yet the engine does not load up during throttle shut down. NOTE: See the “How To” section at the back of this manual for jet needle adjustment and removal procedures. Figure: T3 MAIN JET SELECTION: 3/4 - full throttle DYNAMOMETER METHOD: Dynamometer testing is a quick and safe way to determine the cor- rect main jet size. The main jet that delivers the most power is the best one. If two jets produce the same power, use the smaller jet. One possible issue with dyno test- ing is temperature. Most dynamom- eters do not have enough cooling capacity to allow endless engine runs without overheating. An over- heated engine leads to an incorrect main jet selection. However, skilled operators can get the main jet sized properly with only few runs and tem- perature should not be a common problem.
6 WARNING The following tuning methods require riding the motorcycle on the open road and the use of full throttle. This can be dangerous and, if you choose to use either to these techniques, be aware of your surroundings and personal safety. Roll-off Method: This method is a good way to get the main jet either correct or within one size of correct. It is based on the fact that that as the throttle is closed, the air/fuel mixture richens momen- tarily. This normal enrichening can be used as a diagnostic tool. The test is started with the engine running at an rpm high enough to ensure that it is “on the cam.” Open the throttle fully and let the engine pull for several seconds. Then, quickly close the throttle to about the 7/8ths position. If the engine seems to gain power, the main jet is too small (lean). Fit a larger jet. If the engine hesitates as the throttle is rolled off, the main jet is too large. Fit a smaller one. When the main jet is correct, the engine will continue to run smoothly and evenly as the throttle is closed. Note that a main jet that is far too rich or lean may cause the engine to misfire at full throttle. Roll-on Method: This is the method used by tuners at race tracks and is generally the most accurate way to set the main jet size as it reflects the needs of the engine under actual riding condi- tions. It is also the most dangerous and we do not recommend it for that reason. The test consists of making full- throttle runs between two points or markers on the track. The jet that gives the highest speed at the second marker is the best main jet. The gear selction and speed must always be the same at the first marker when full throttle is applied. The distance between the markers must be enough that small differences in performance can be detected. Figure T4 ACCELERATOR PUMP The accelerator pump has two adjustments and one replaceable tuning part. It injects a metered amount of fuel at a controlled rate into the engine when the throttle is opened from or near its closed position. The size of the accelerator pump nozzle determines the fuel flow rate. The two screws adjust when the pump action starts and when is stops. Screw #1 in Figure T4 adjusts the starting position and screw #2 the stop position. The total amount of fuel injected is determined by the positions of the two screws.
7 Screw #1 (see Figure T4), on the throttle lever, adjusts the starting point of the pump stroke. To start the pump sooner (smaller throttle opening), back the screw out. To start it later, turn the screw in. Screw #2 adjusts the pump’s end point. Best performance is generally achieved when the pump stroke ends between 2/3 and 3/4 throttle. NOTE: The accelerator pump nozzle size (#50, #60 or #70) determines the rate at which fuel is delivered to the throat of the carburetor. A larger nozzle delivers fuel at a higher rate (richer) over a shorter time than a smaller one. SETTINGS & ADJUSTMENTS The standard nozzle size is #70. If the engine seems to run too rich when the throttle is first opened, the nozzle may be too large and the fuel delivery rate too high. In this case, fit a smaller nozzle. The #1 screw is normally adjusted to establish a gap of about 2mm (0.080 inches) between the white plastic lever and pump rod end. If there is a hesitation just off idle, reduce the gap. The #2 screw is normally adjusted to stop the pump action at about 3/4 throttle. This setting should meet most requirements including acceleration from low rpm. If you downshift before accelerating and/or have a lighter bike then you might consider shortening the pump stroke. NOTE: For best results, the accelerator pump nozzle should be pointed directly at the jet needle. The nozzle is held in place by the friction of an O-ring and can be turned easily with a of long-nose plier. MAINTENANCE There are few moving parts in the HSR series carburetors and they do not require frequent servicing. However, here are a few suggestions that, if followed, will assure good performance season after season. 1. If the motorcycle is to be stored for more than a couple of weeks, drain the float bowl. 2. Periodically remove and clean the float bowl drain plug (once each season should be adequate). 3. If a jet or passage does become plugged, use only carburetor cleaner and compressed air. Drill bits will alter the size and tuning. A small wire such as a single strand from a bicycle cable, or motorcycle throttle cable can be used to clean pilot or main jets as it does not remove material from the jet and alter its size. 4. Occasionally inspect and lubricate the throttle cables. Modern cables are very reliable and generally do not need much attention. However, they do require lubrication and can be damaged if not carefully routed. A light oil such as WD40 applied into the gap between the inner cable and its sheath does a good job of keeping the cables free moving and protected against binding and wear. 5. Clean and lubricate the junction of the accelerator pump pushrod and carb body at the beginning of each riding season. Although unlikely, it is possible that dirt can cause binding and improper operation of the accelerator pump.
8 Figure T5: Float Level FLOAT LEVEL ADJUSTMENT 1. Hold the carburetor so that the float pin is horizontal, as shown in Fig. T5 above, and the float is hanging away from the needle. 2. Now, tilt the carb until the float tab touches the spring-loaded pin in the needle. Do not depress the pin. 3. The distance from the carb’s bottom surface to the ‘top’ of the float should be 18mm, plus or minus two. 4. Bend the actuator tab to adjust float level. MIKUNI / K&N AIR FILTER K&N air filters (Mikuni, Screamin’ Eagle and many others) do not need frequent cleaning. A cleaning interval of once a year or 5,000 miles is often enough. However, if you ride in very dusty conditions, clean the filter whenever it is dirty. 1. Tap the element to dislodge embedded dirt; then gently brush with a soft bristle brush. 2. Roll the filter element in a large shallow pan of K&N air filter cleaner (Simple Green, 409, etc.) with the depth set to 1/4 of a pleat. Remove immediately and let sit for approximately 10 minutes. 3. Rinse the element with low- pressure water. Flush from the inside of the filter so the dirt is washed out of the filter and not into it. IMPORTANT: Do not use gasoline or cleaning solvent to wash the filter, as this will damage the material. 4. When the filter is dry, sparingly apply K&N filter oil with one pass per pleat. Wait 10 minutes and re-oil any white spots. IMPORTANT: Air dry only; do not use compressed air. HOW TO REMOVE & REPLACE: WARNING Please do not disassemble the throttle lever linkage. It is not normally necessary to remove the throttle shaft bolt to change position of the jet needle. However, if you do remove the bolt, be certain that you: 1. Apply blue Loctite to the threads. 2. Torque the bolt to 18 in./lb. 3. Bend the tab washer against a flat on the bolt head. JET NEEDLE 1. Unscrew the Idle Adjuster to bottom the throttle valve (slide). 2. Remove the top cover. 3. Loosen the Allen screw on the slide (2.5mm wrench). 4. Swing the needle retainer aside and remove the jet needle. Save the plastic washer under the E-ring. To reassemble: Reverse Steps 1 through 4. Be sure to replace the plastic washer and snug the Allen screw. Be certain that the needle retainer is on top of the E-Ring.
9 JET NEEDLE E-RING 1. Place the open end of the E-ring against a hard surface. 2. Cover the E-ring area with your hand and press the needle down to snap the E-ring off the needle. Be sure that you apply pressure near the E-ring to avoid bending the needle. 4. Place the E-ring in the desired groove. 5. Place the E-ring, open-end up, against the hard surface. 6. Again cover the E-ring area with your hand and press down on the needle to snap the clip into place. NOTE: The procedures described below require that some gasoline be spilled. There are obvious dangers when doing this. MAIN JET 1. Turn the fuel petcock off. 2. Place a container under the carburetor to catch the fuel in the carburetor and fuel line. 3. Use an 11/16” or 17mm wrench to remove the drain plug. 4. Remove the jet. 5. Replace jet. Tighten gently. 6. Replace and tighten drain plug. PILOT JET 1. Turn the fuel petcock off. 2. Remove the drain plug and drain the float bowl. 3. Remove the float bowl. 4. Remove the pilot jet (see exploded view for location). 5. Install new jet. Start the jet by hand. Do not over-tighten. 6. Reassemble. ACCELERATOR PUMP NOZZLE 1. Turn the fuel petcock off . 2. Remove the drain plug and drain the float bowl. 3. Remove float bowl. 4. Use your finger to push the nozzle out of the throat of the carburetor (see exploded view). 5. Push in new nozzle/O-ring assembly. Aim the nozzle toward the jet needle. Note that the nozzle orifice is located at 90-degrees to the screwdriver slot. 6. Re-install the float bowl. 7. Turn the fuel petcock on and work the throttle several times to prime the accelerator pump. 8. Use long-nose pliers to adjust the fuel stream to the middle of the carburetor throat. NOTE: It is important that you use a tight- fitting screwdriver. Mikuni float bowl and top cover screws are slightly soft. This is a deliberate choice: We would rather strip screw heads than the threads of an expensive aluminum casting. For this same reason, we recommend against installing hardened Allen screws. NOTES: _____________________________ _____________________________ _____________________________ _____________________________ _____________________________ _____________________________ _____________________________ _____________________________
10 CHOKE CABLE INSTALLATION The HSR series carburetors use either of two choke cables: the stock Harley-Davidson cable (1990 and later) or the Mikuni cable. Mikuni designed the HSR to accept the Harley cable to save you money and because the stock cable works well. The Mikuni cable is furnished for those installations that do not start with an installed stock CV carburetor. The majority of HSR42/45 installa- tions use the Harley cable. Installa- tion is simple when the instructions are followed, step by step. Those steps are: 1. Remove the stock Harley choke cable assembly. 2. Remove the spring and plunger from the stock cable. 3. Remove the Mikuni “Starter Nut” from the HSR. 4. Remove the Mikuni spring and plunger from the HSR. 5. Install the Mikuni spring and plunger on the Harley choke cable. 6. Install the Harley choke cable with the fitted Mikuni spring and plunger into the HSR carburetor. DO NOT use the Mikuni Starter Nut; discard it. DO NOT use the Harley spring or plunger; discard them. Note: If you do not have installation instructions, you may download them from the “www.mikuni.com” website in the “manuals” section. If the Mikuni Starter Nut is fitted to the Harley cable, the choke plunger is held off its seat and the choke is open all the time. If the Harley spring and plunger are used, the plunger does not seal and the choke is open all the time. The result, in both cases, is very poor fuel mileage (30 mpg or less). Another possible cause of poor mileage, rough idle and fouled spark plugs is incorrect cable routing. The stock Harley choke cable is very stiff and may not be fully seated in the metal elbow at the carburetor end. On occasion, one of these errors may have been made by someone else at another location. The unfor- tunate mechanic who inherits the task of correcting the rich condition, poor idle and poor fuel mileage may have no clue as to the mismatch of parts. For this reason, we include the following photos and text to help you discover if your installation is correct. Harley’s choke knob has the word “CHOKE” in white. The Mikuni knob has a small brass bump in its center. . The Mikuni spring is longer and stiffer than the Harley part.
This Complete Workshop Service Repair Manual is a valuable resource for both professional mechanics and DIY enthusiasts. It covers every service and repair procedure for the Mikuni HSR42 45 48 Smoothbore Carburetor, providing easy-to-follow step-by-step instructions and detailed pictures for all areas of servicing and repairs.
By utilizing this manual, you can save a significant amount of money by performing your own repairs. It is yours to keep forever, allowing you to print out specific pages, chapters, or the entire manual. Additionally, you have the option to store it on your tablet or smartphone for easy access.
All models, engines, trim, and transmission types are covered in this comprehensive manual, which includes high-quality repair procedures from A to Z. It is compatible with all PC and MAC computers, tablets, and mobile phones, requiring only Adobe Reader, which is typically pre-installed or can be downloaded for free.
Upon payment via Visa, MasterCard, or PayPal, the manual will be instantly emailed to the address provided during checkout, ensuring prompt access to the valuable content. Customer satisfaction is guaranteed with this indispensable resource.