CASE 580 SUPER M Loader BACKHOE Parts Catalog Manual
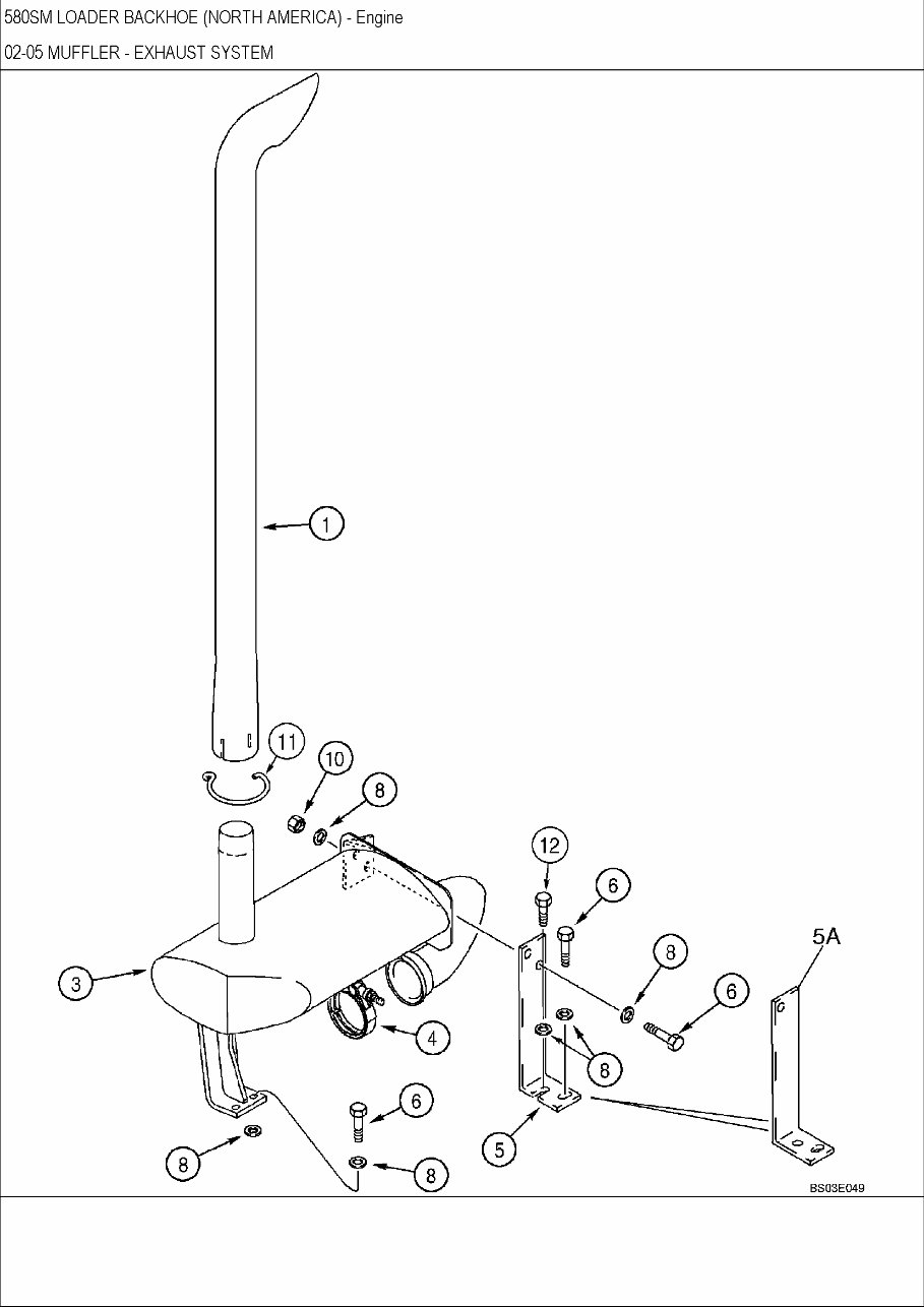
This parts catalog is an essential resource for anyone working with the CASE 580 SUPER M BACKHOE LOADER. It contains detailed parts explosions and exploded views, providing breakdowns of all part numbers for every aspect of these machines, including comprehensive engine parts breakdowns. Whether you are a professional mechanic or a DIY enthusiast, having access to parts manuals is crucial for understanding how everything fits together.
The parts list exploded views will not only assist you in servicing, rebuilding, teardowns, overhauls, repairs, and adjustments but also make part number identification and ordering accurate and straightforward. With 618 pages and a file size of 38Mb, this manual is an extensive resource in English that contains all the original parts information necessary for looking up the correct part numbers for the entire machine, including engine parts.
For any inquiries or if you are searching for a specific manual, feel free to reach out. We may have the manual you have been looking for. Have a great day!









