Identification Codes Printable View (463 KB) Vehicle Identification Number Vehicle Identification Number (VIN) Tag Locator The vehicle identification number (VIN) is a seventeen-digit combination of letters and numbers. The VIN is stamped on a metal tab riveted on the instrument panel, top upper left of the dash. The VIN is also found on the vehicle certification (VC) label. SECTION 100-01: Identification Codes 2005 Escape/Mariner/Escape Hybrid Workshop Manual DESCRIPTION AND OPERATION Procedure revision date: 06/30/2004 Item Description 1 World manufacturer identifier 2 Brake type and gross vehicle weight rating (GVWR) 3 Vehicle line, series, body type 11.02.2002 file://C:\TSO\tsocache\SUPER10-45B629E_1916\S5K~us~en~file=S5K01001.htm~g...
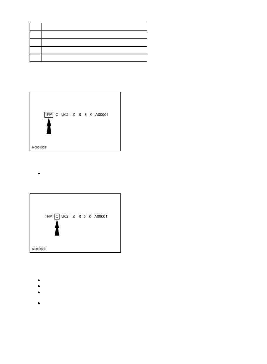
World Manufacturer Identifier The first three vehicle identification number (VIN) positions are the world manufacturer identifier. 1FM — Ford Motor Company, USA, multi-purpose vehicle Brake Type and Gross Vehicle Weight Rating (GVWR) The fourth VIN position is the vehicle brake type and gross vehicle weight rating (GVWR) code, all vehicles use hydraulic brakes and driver and front passenger air bags. C — 4,000-5,000 pounds GVWR with driver and front passenger side impact air bags Y — 4,000-5,000 pounds GVWR without driver and front passenger side impact air bags 8 — Hydraulic brakes — 4,680 pounds GVWR — driver and front passenger air bags and driver and front passenger side impact canopies (Hybrid) 9 — Hydraulic brakes — 4,720 pounds GVWR — driver and front passenger air bags and driver and front passenger side impact canopies (Hybrid) Line, Series and Body Type 4 Engine type 5 Check digit 6 Model year 7 Assembly plant 8 Production sequence number 11.02.2002 file://C:\TSO\tsocache\SUPER10-45B629E_1916\S5K~us~en~file=S5K01001.htm~g...
VIN positions five through seven indicate the vehicle line, series and body type. U02 — Two-wheel drive, XLS U03 — Two-wheel drive, XLT U04 — Two-wheel drive, Limited U92 — Four-wheel drive, XLS U93 — Four-wheel drive XLT U94 — Four-wheel drive, Limited U95 — XLT — two-wheel drive (Hybrid) U99 — XLT — four-wheel drive (Hybrid) Engine Type The eighth VIN position is the engine type (displacement and number of cylinders). Z — 2.3L, four-valve, in-line four cylinder 1 — 3.0L Modular, six-cylinder, EFI, DOHC H — ATK-CYC, 2.3L, four-valve PFI, in-line four cylinder, gas/electric (Hybrid) Check Digit 11.02.2002 file://C:\TSO\tsocache\SUPER10-45B629E_1916\S5K~us~en~file=S5K01001.htm~g...
The ninth VIN position is a government assigned, computer-generated check digit. Model year The tenth VIN position is the model year code. 5 — 2005 Assembly Plant The eleventh VIN position is the assembly plant code. D — Ohio Assembly (Avon Lake, Ohio) K — Kansas City Assembly (Claycomo, Missouri) Build Sequence VIN positions 12 through 17 are an alphanumeric code for the vehicle build sequence. This is also the vehicle serial and warranty number. A00001-L99999 11.02.2002 file://C:\TSO\tsocache\SUPER10-45B629E_1916\S5K~us~en~file=S5K01001.htm~g...
Vehicle Certification (VC) Codes Vehicle Certification (VC) Label Locator The upper portion of the vehicle certification (VC) label contains the manufacturer's name, the month and year of manufacture, the certification statement and the VIN. It also includes gross vehicle weight rating (GVWR). The VC label is located on the left-hand door jamb. Item Description 11.02.2002 file://C:\TSO\tsocache\SUPER10-45B629E_1916\S5K~us~en~file=S5K01001.htm~g...
Exterior Paint Exterior paint codes may be listed as a two-part code. The first set of characters identify the primary body color. The second set of characters (if applicable) identify the vehicle accent or two-tone body color. Exterior Color Codes C2 — Gold Ash Metallic CX — Dark Shadow Gray (clearcoat) DV — Light Tundra G2 — Redfire GW — Fossil Orange KR — Norcea Blue Pearl 1 Exterior paint code 2 Region code 3 Domestic special order 4 Wheelbase code 5 Brake code 6 Interior trim code 7 Tape/paint stripe code 8 Radio code 9 Axle code 10 Transmission code 11 Spring code 12 Powertrain calibration information 11.02.2002 file://C:\TSO\tsocache\SUPER10-45B629E_1916\S5K~us~en~file=S5K01001.htm~g...
R1 — Dark Teal (clearcoat) SN — Sonic Blue (clearcoat) T5 — Dark Copper Metallic UA — Ebony (clearcoat) YN — Silver Metallic (clearcoat) YZ — Oxford White (clearcoat) Wheelbase 103 — 103-inch (2,616 mm) wheelbase Brake Type 11.02.2002 file://C:\TSO\tsocache\SUPER10-45B629E_1916\S5K~us~en~file=S5K01001.htm~g...
D — Anti-lock brake system (ABS) with air bags Interior Trim Interior trim codes are listed as a two-part code. The first character identifies the interior trim type. The second character identifies the interior trim color. Interior Trim Type 5 — Nudo leather seats A — Captains cloth seats 11.02.2002 file://C:\TSO\tsocache\SUPER10-45B629E_1916\S5K~us~en~file=S5K01001.htm~g...
B — No Boundaries cloth seats B — Impulse cloth seats C — Imola leather seats N — Toscana leather seats W — XLS cloth seats Interior Trim Color 2 — Medium Dark Flint B — Ebony T — Dark Flint Tape/Paint Stripe Tape and paint stripe codes do not apply. Radio Type 11.02.2002 file://C:\TSO\tsocache\SUPER10-45B629E_1916\S5K~us~en~file=S5K01001.htm~g...
4 — Lowline AM/FM stereo with cassette, clock and removable bezel 6 — AM/FM stereo with clock, cassette and six-disc compact disc (CD) changer 8 — AM/FM stereo with cassette, compact disc (CD) changer and clock B — AM/FM stereo (modular) with six-disc compact disc (CD) changer (in-dash) N — AM/FM stereo with six-disc compact disc (CD) changer and navigation system X — AM/FM stereo with six-disc compact disc (CD) changer (CDX6) Z — Electronic AM/FM stereo with compact disc (CD) player and clock Axle Type 11.02.2002 file://C:\TSO\tsocache\SUPER10-45B629E_1916\S5K~us~en~file=S5K01001.htm~g...
The Ford Escape 2005 Repair Service Manual is a comprehensive guide that provides detailed instructions for servicing and repairing the Ford Escape model from the year 2005. This manual is designed to assist both professional technicians and DIY enthusiasts in troubleshooting and fixing various issues with this vehicle.
Features of the Ford Escape 2005 Repair Service Manual include:
Step-by-step instructions for performing maintenance tasks such as oil changes, brake pad replacement, and engine tune-ups.
Detailed diagrams and illustrations to aid in the understanding of complex repair procedures.
Exploded views of vehicle systems and components to help with part identification and assembly/disassembly.
Comprehensive troubleshooting guides to assist in diagnosing common problems and electrical issues.
Detailed specifications and torque values for fasteners, fluids, and components.
Wiring diagrams for the electrical system, including fuse box layouts and connector pinouts.
Models covered by the Ford Escape 2005 Repair Service Manual:
Ford Escape XLS 2005
Ford Escape XLT 2005
Ford Escape Limited 2005
Whether you're a professional mechanic or a Ford Escape owner looking to save money by performing your own repairs, the Ford Escape 2005 Repair Service Manual is an invaluable resource that will help you keep your vehicle in top condition.