PARTS LIST
CAROCHE
WASHINGTON ROAD
P. 0. BOX:.4658
1970-1973
Club Car, Inc.
P. 0. Box 4658
Augusta, Georgia 30907
AUGUSTA, GEORGIA 30907
p,_
1
t tJo. rPoc •'-
AREA CODE: 404
PHONE: 863-4658
GROUP ...................... •.• ...... • ......... •• .............. •.. PAGE
ACCELERATOR SWITCH GROUP ..................... • ............ 1- PLC 9/72
BAG RACK GROUP .............. • ............ •..•..• ........... 2- PLC 9/72
BODY & COWL GROUP ................. ••.•••• ........ • ......... 3- PLC 9/72
DIFFERENTIAL ASS'Y .......................................... 4- PLC 4/70
FORWARD & REVERSE SWITCH AND LINKAGE GROUP .............. 5- PLC 9/72
FRONT SUSPENSION GROUP ................. • ................... 6- PLC 4/71
FRONT SUSPENSION GROUP .............. ••••••• ................ 6- PLC 0/72
HYDRAULIC BRAKE GROUP ............ ••.••..• ...... • .......... 7- PLC 9/72
MOTOR ............. • ............ •.• ....... • .................. 8- PLC 9/72
PEDAL & LINKAGE GROUP ...................................... 9- PLC 9/72
POWER WI RING GROUP ........................................ 10- PLC 9/72
REAR SUSPENSION GROUP ............................ • ........ 11 - PLC 9/72
RESISTOR GROUP ............................................. 12 · PLC 9/72
SEAT GROUP ................................................. 13- PLC 9/72
STEERING GROUP ............................................. 14- PLC 9/72
WHEEL GROUP ................. • .......... • .................. 15- PLC 9/72
WI NOSH I ELD & CANOPY GROUP ........... • ..... •.• ............ 16- PLC 9172
ALWAYS INCLUDE PART NUMBER & SERIAL NUMBER OF CAR
WHEN ORDERING PARTS
r---.-------------------------------------------------------------------------~------~.-------.-~~-.---------------~
-
z
n
E
c
m
.,
)>
~
z
c:
~
tD
m
:lJ
0
.,
m
)>
n
:t
~
:lJ
....
0
:lJ
c
m
:lJ
m
c
Part No.
304
32.
33.
416
<451
1003
1005
1009
101.
1027
1028
1029B
No.
Deot.ription Rt!q'd.
Bolt,~,. A 1" .
..... 2
&ott %" • 2 ;.·· ............................... . 2
Washer 318" • . • . . . . . . . . . . . . . . . . . . . . ...• ..... 1
Lock Pin 3116"" K." ••••.•••••••••..•••.•• ..... 1
LW II." •••••••.•••.•.• ....... •.• ...... • ..... 10
Shaft ••••••••.••••• .... •.• ...... .- •.• ....... •. 1
Lever •.•••••••.••••. , •••••..••.••.••• ........ 1
Cohtact • Moveable ..••••••••.•••••.••.••.• ..... 1
Nut, SPL %" •..•••..•••••• .... •••••..• ........ 9
Pin •••••••••••••••••.•• ..... •••••••••• ...... 1
Nut%" ..•••.••••..•••• ...... ••• ...... • ...... 4
Contact •••..•••..••.•.••..•..• , ••..•...•.••.. 5
~
.... I_
33.
ill!- ACCELERATOR SWITCH ASS'l COMPLETE
Part No.
1030
1032
10J5
1108
1701
7212
7214
7215
7220
7233
7706
No.
Description Req'd.
Cuntact. Ma·n ............................ • .... 1
Bushing .............. •••• ................. •. 2
Cottar 3132" " 1" • ............................. 1
Nut, SPL %"' •••• , •.•...••••• ...... •.•.•.•...•. 3
Bolt ··~" " 1 }i" •..•.• .......................... 3
Brk t • • • • • • • • • • • • • . . . • • . . . . . •••••••••.••.•. 1
Caw iContact Side).. . ...• ...... •.• ..... •...•. 1
c .... -.: . . . . . . . . . . . . . . . . . . . . . ............ . 1
Brk •. . . . . . • . . . . . . . . . . . . . . . . . . . . . . 1
Povot Block . . • . . • . . . . . . .
Sprong . . . . . . . . . . . . . .. . ... 1
l>
(")
(")
r.,
r
n
:::::1
)>
-I
0
::0
(/j
:;§!
...;
.}
I
-)
::0
;)
c
\:)
"tJ
r
n
co
........
- .... !
1\J
-
2
"'
)>
n
G),
r-
c: ::D
)>
c
n
m
7252
7\
.,
G)
)>
:0
0 :a
c -t
2
"0
c:
~
.,
m
:a
0
.,
~
n
:I:
.,
- ~~ 7914__/1 I . i
I
)>
:a
, . D
-t
. ~
0
7935
r-
:a
n
c
., ~
m
:a
m
c
No.
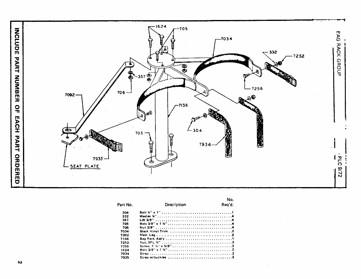
Part No. Description Req'd.
304 Bolt%" 11 1" •..•...•.••••.•••.••••••••••.•..•. 1
332 Wether 14" •••••••••••••••••••••••• , ••••••••.•• •
357 LW 31B" .... •••...•...• .... ••..••.•• ......... •
705 Bolt 3/8" 11 1 14" •••. , .... ••..•.••••.••••• .... •. •
705 Nut 318" •.••.•.•• ...... , .... •.•.•..•• ........ •
703• Bleck Vinyl Trim .• .... •.•.•.•..•..••.• ........ 2
7092 Matt Leg •..•.•••..• , •.••.•••..•••.• 2
7156 Bag Rack A~y •••••••••..•.•••.••.•••••••... , .1
7252 Nut, SPL %" ••••••• , •.•.••••••.••••••••••••••• 3
7256 Screw, F %" 11 518" ........... • ................. 2
1624 Bolt 3/8'' 11 1 %" •••••••••••••••••••.••••••••.•. 2
7934 Strap ...... • ...... •.••.•...•.•• ........... ••. 2
7935 Strap w/bucklea ••.••.••• , .••.• , , •••••••••• , ••• 2
..,
----------------- --
BODY & COWL GROUP
Part No.
183
209
210
481
1028
1818
1820
1703
7014
• 7080
7088
1oae
7104
7117.
713e
7141
No.
Description Req'd.
Wa.tler 3116" • ................... • ............ 6
LW Yo" ••.••••••...••• ....... •...•.•••.•••.•. 4
Nut Y•'' ....................................... •
LW %" .... •.••.•.•••...•...•...•• , ••••••••• 10
Nut ~~·· .................................... . 19
Nama Plata "Club Car" .• ........ ••..•..••••••• , • 1
Screw, S.M. No. lOx 3/4" ••• ........ •.••• , ••••• 12
Bol·t %'' • 1 },·· ............................... •6
Plata, F&R .•• .......... • ..... , .• .... ••..•.••• 1
Bushing, .•...• ...... ••.••.•••••••••.••••.•••. 4
Mat, Floor •.• ......... •...•• .... • ..... •••••.•• 1
Cover Plata .••..••...••••••...••••••.••••• · •••• 1
Trim, Cowl .... •••.•... , ••...•••••••••••• , •••• 1.
Cups. Drink Holder .............. ••.•••.••.•••• 2
Grommet • ..... •.••••..•...•••.•••••.•••••••• 1
Bumper, Front •• .... •.•• ......... •.••..•.••••• 1
Part No.
7142
7143
7144
7181
7192
722!5
7242
7249
72!50
7251
7254
7255
7365
7!515
7!577
7884
7747
77152
-----
• PLC 9/72
.. _. ..... _
No.
Description Req'd.
Bolt, Carr Yo" x 4" .• ......... ••••• : •.• , •••.•••• 2
Bolt, Carr Yo" " 5 %" .••..••..•.. , ••••••••.•••• · •• 2
Bumper, Rear .................... ••.•..••• .... 1
Glove Box • ....... •.••..•.•••.••••••. , .••.• , •• 1
Retainer, Floor Mat ..•• ....... •..•...•..••..•.• 2
Nama Plata ''Carocha" •• ......... ••••..••••••••• 2
Screw, P. %" x 1" ••.••..•..•••.•••.•.•••••••••• 6
Body •.••••...•..•.•.•••••.•••..•••••.••••••• 1
Cowl ••.. , .... ••.•••••••.••••.••••••••••••••• 1
Screw 5/16" x 1" • ......... • .......... •.•..•..• 6
Scuff Plata, R.H • ........ •.•...• ...... • .... ••••• 1
Scuff Plata, L. H • .... ••...•..•.• ..... •••.••••••• 1
Cup Binding .•••..•.•.• ......... •• .... •..••••• 2
Mat, Bag Wall • .... •...•..•••.•••••.•••••••..•. 2
Screw, S.M. No. 10x Yo" •••.•••.••.••••••••••••• 10
Dash Cover ••.•••••..•.•.•••..••••••••..•.•••• 1
Bumper, Rubber ••.•.•...•..•••••••••••.••.•••• 3
Dash Board ••••••••••••••••••••••••••••••••••• 1
INCLUDE PART NUMBER OF EACH PART ORDERED
3
DIFFERENTIAL ASS'Y - PLC 4/70
. - - - - ---------------------------------------------------------------------------------
1808
1?61 -QRIV( UNIT COMPLfT(,
18Z
~ A~,'.(~.<BLt£5 NOT INCLUDED.
~~'?.
!
7JA9
'~~~
No.
Part No. Description Req'd . Part No.
182 Cotter Pin ..• ............ • ......... •..•• ...... 2 7329
324 %" x 2 y," Hex Head Bolt ........................ 6 7330
4!51 %.'' Lock Washer ............................. • 10 7331
1703 %" x 1 Yl' Hex Head Bolt ........................ 4 7332
1808 Lug Bolt ....... • ................... •••• .... • 16 7333
7188 3116" X 1" Roll Pin •••...• ............ •. , , • , • , .1 7334
72157 Hub Ass'v. Complete • ............... •..•...•••. 2 7335
72158 Key. Axla .•..• • •••.•••.. • • • .• ...... •. •. • • .• • .2 7338
7258 Slotted Nut •• .................. •• .... •...•.•.. 2 7337
7261 Drive Unit Complete ..... • ...... ••.•..•...••.••• 1 7338
7320 Gear & Axle Housing (Right) ..................... 1 7338
7321 Gear & Axle Housing (Lett) •...• .......... •.•...• 1 7340
7322 Rear Axle (Right) ••••.•.•• ..... ••••.••••••••••• 1 7341
7323 ANr Axle ( Left) •.•.•.•••..• .... •••••• , •••••••• 1 7342
7324 &Jifferential Drive Gear • ........... •• ..... •••• , •• 1 7343
73215 Spider Shaft .••.•.••••••• .......... •.••.•••••. 1 7344
7326 Spider Geer Thrust Washer •..•.••..•.••••••••• , •• 2 73415
7327 Spider GNr ........ •..••..• ..... • .... ••.•..•.• 2 7~
7328 Differential Spider Gear Thrust Washer ...•••...••••• 2 7347
No.
Description Req'd.
Differential Side Gear .......................... • 2
Differential Drive Gear Bearing .... • ....... • ..... •• 2
Drive Pinion .•• ....... •..••...••.•.••.•.•.•••• 1
Pinion Bearing ................... ••• ...... •.••. 1
Pinion Bearing ....... • ......... •••.•...•.••••.• 1
Pinion Bearing Ring ........ • ..... •.••..•.• .... • 1
Idler Shaft Bearing ...... •...•.•••••.•.•••..••• ,1
Idler Shaft Bearing .... • ...... ••.•.• ........ •••• 1
Idler Shaft Key ..... •...••••••••••••••••••••••• 1
Idler Gear ...•• ....... •.•••.••.•.•.••••.•••••• 1
Idler Shaft • . • ••••.•••••. , •••..••••••• 1
Axle Beering •• ............ ••.•.•.•..•••••••.•• 2
Axle Bushing ••• ..... ••••••••.•• , , .••••• , .••••• 2
Axle Snap Ring ••...•.•••.•••••••••••••••.••.•• 2
FIller Plug ••••• ...... •••••.•...•••• , , ••••..•.. 1
Drain Plug ..•••••• ........ •.•••••.• , ••••...•. , 1
Magnetic Filter Plug • ...... •.•••.••.•••.• .... ••• 1
Houaing Galket •••...•.•...••.•.•••.•..••.••.•• 1
Oil Seal ...... •.••.••••••.••••••• , ••• .... ••••• 2
IINCLUDE PART NUMBER OF EACH PART ORDERED 1 4
FORWARD & REVERSE SWITCH AND LINKAGE GROUP
Part No.
183
332
.o:J
.-&1
eoe
706
1014
1028
1032
1703
2830
2708
7018
7oe.
7103
7127
71 ..
No.
Description Req'd.
Waaher No, 10 ....... • ............. •..• ........ 2
Waaher ~·· .......................... , ......... 6
Bolt ~ .. x 5/8" ................................ 3
LW %" •.•...•.•• ....... ••.••.••..• ....... •. 1 ..
Pin 3/16" x 1" .......................... • ..... 1
Nut 318" ............................ •...•..•. 2
Nut, SPL ......... • ................. •••.•...•• :z
Nut %" •••••••.••••.•••••••••••• , •••• , • , ..... 16
Buahlng., .•.••.• ........ ••. , .• , •••• , ••••• ,,, .•
Bolt~" • 1 )~," .••..•.•••••••.•.•••••••••••••• ·•
Screw, R. No. 10 • 1" ................. • ......... 2
Screw, R, No. 6 x 1" ............................ 2
Switch Rotor .... • .................... •• ...... 1
Henger, F&R •. , .• .............. •• ....... •. , .•. 1
Brk t. ••• ........ •• ...... •...•.••...•• , ••••• , .1
Lever Aaa'y., F.S.R •.••..•••••••• .... •• , ••••••••• 1
Knob, F&R ••••..•..••.•.••. , •.••.••••• ,, •• , .. 1
Part No.
7188
7189
7191
7200
7242
7306
7538
7537
7!538
7!546
7575
71591
7827
7701
7706
7921
·- PLC 9/72
No.
Description Req'd.
Rotor Contact ......... •••••.••.•..••••••••.••• 2
Pin 3/16" x 1 %" •• .... •• , .••.•.•••••••• , •• , ••• 1
Rotor Shaft ........... • ...... ••••••••••••••.•• 1
Adj. Rod· F&R .. , .... •••.•••.•..• , •••••• , , ••• 1
Scr-. P. %" • 1" , , ............. , , ........ , . , .. 8
Screw. R. No. 10 x Ya" .•••••••••. , •••••••.•••••• 2
Limit Switch .. , ..... , ............ • , .... •...••• 1
Brkt. ·Limit Switch .•• ........... ••..••..•.•.•• 1
Rotor Arm ...•...••..•.•• .... •••••••••••••••• 1
Shield, F&R ................... • ..... •..••...• 1
Pin· 3/8" x 1.187 Alum. ..•.••...•••.••••.•••• , .2
Washer No. 6 ....................... , ......... • 2
Spring ..... • ........... •••..••••.•••••••••.•• 1
Wire ~iarn•• ............ •••..••.•••••••..•.•.• 1
Spring .• ............ •.•.••...•.••••.••••.•..• 1
Switch CaM ......... •..•.••.•••••••••.•.••..•• 1
I INCLUDE PART NUMBER OF EACH PART ORDERED 1
5
-
z
n
E
c
m
~
::D
...
z
c:
3:
0:2
m
::D
0
.,
m
)>
n
:X:
~
::D
...
0
::D
c
m
::D
m
c
(J)
""j
100~
,,., ~
rrn ~
~~~
7Z7J 1107 I
Part No.
209
210
304
319
334
357
403
451
510
706
808
810
1016
1028
"1218
1242
1807
7028
7031
7033
7048
7049
7050
7051
7062
7114
7174
7228
I
ro4 I
No.
Description Req'd.
LW ~" ...• ................................. 6
Nut Ya" • . • • • . • • . . • . . • • . . . • . . . . ..•.•..• ...... 6
Bolt l4'' x 1" . . . . . . . . . . . . . . . . . . . .............. 6
Bolt 3/8" x %" • ............................... 2
Washer 3/8" .................................. 8
LW 3/8" .................................... 14
Bolt \4" x 518" ••• ............................. 2
LW Y .. ' •••••••••••..•••••.•• ..... •.•••.•••... 4
"0" Rongseal • ............................... 4
Nut 3/8" ....... • ............................ 14
Washer, SPL ..• ............................... 2
Nut, SPL •..• ................................. 2
LW 3/16" .... • ..... • ..... • ................... 6
Nut \4" ..•.••.•••..•...•.• .... •• ..... • ....... 6
Bolt 5/16" x 1 l4" •••..••••.• ..... •• ............ 2
Nut 5116" ••. , .... • ........................... 4
Lug Nut .•.•..• .... •.• ....... • , .•• .... •• ..... 8
King Pin Asa'y, • ..................... , ......... 2
Spring ...•.••• ......... • ...... • .............. 1
Washer. SPL •...••••..• ...... •.• .............. 2
Bushing .. • ..... , ... , ...• ...................... 4
Bushing ....... •• .......... • .................. 4
Bushing ..................................... 4
Bushong .......... •...•• ........ •. , ........... 2
Plate. Spring Retainer ...••..• , ..•• ........ • ..... 1
Hub Au'y ..•• ............................... . 2
LW 5/16" ...... • ............................. 2
Bolt 3/8" x 3 %" ••••• .... •••••••••••••••••••••. 2
Part No.
7270
7273
7274
7275
7308
7476
7517
7554
7561
7562
7563
771B
7719
7720
7726
7732
7734
7737
7739
7740
7741
7747
7748
7749
7751
7809
71t10
7840
7910
No.
Description Req'd.
Bolt 3/8" x 4 Ya" • • • . • . • . • • • • . . . .••.••••••••... 4
Seal. Ool ..• ........................... • ..... 2
Beaflng, Whnl •• ................... •..• ....... 4
Cap, Hub ....... ,... . . . . . . . . . . . .... • ..... 2
Bearing Race . . . . . . . . . . .................... . 4
Bolt Ya" x 3 %" • ............ • ..... •...• ........ 2
Support· Front''!'' Beam ................... •.•.. 1
Grease F ittong ........... •.• .............. • .... 6
Bolt 3/8 x 3" • ......................... • ...... 2
Spindle Au'y. R.H. . . . ....................... •. 1
Spondla Ass'y. L.H ................ •...• ..... •.•. 1
Nut, SPL ......... •..•...• .... , •..••••••• , ••• . 4
Bushing ....................... •.•• ...... , .... 8
Pivot Ptn .... ••••••..•..•..•.•.•.•••••••••.••. 2
Clevis Ass'y .... •••..•.•..•..••.••.••••.•.•.••. 2
"A" Frame Au'y ....... •.• ............. •••.••. 2
Yoke. A.H.Spindle .•.•••••••• .... •...•...•• .... 1
Plate, Ass'y., Hanger .•• , •.•..•••••••.•••.••••••• 1
Spacer ..... •.•...•.••••••..•••••••••••••••••• 2
Spacer ....... •..••••••••.•••..•••.•.••••••••. 2
Safety Clevis Ass'v ...• ........ •••..••.•.•••.•.. 2
Bumpur · Rubber ..... • , ..... ••••••••.••••••.•. 2
Yok o, L. H. SJ.llndlt . • . . • • • . . . . . . .••.•.•••••• , • 1
Bolt 3.t8" x 1 l•" ..... • ............ •.•.•• .... •. . 4
Cowl Brace . . . . . . . . . . . . . . . . . . . . . .... 1
Boll. SPL . . . . . . . . . . . . . . . . . . , . . . • . . . • . . . .. 2
N..:t, 5PL ...... . ............ •.. , .••..•.•• 2
Nut, SPL, ........ •..•...• ....... •••••.•••.••• 2
Cottar , ••...• ..... •...••.• .... •••.••.. , ••••.• 2
""'
:II
0
z
.....
(/)
c
(/)
"'0
m
z
(/)
0
z
C)
::D
0
c
"'0
"'0
r
()
~
.......
....
-
z
n
E
c
~
~
:::D
~
2
c:
~
Ol
m
:::D
0
.,
~
n
::t
~
:::D
~
0
:::D
c
m
:::D
m
c
0)
~~1
~~m·- f_ '
10
' I
Part No.
209
210
304
319
334
357
403
451
510
706
808
810
1016
1028
1218
1242
1807
2402
7028
7031
7033
7048
7049
7050
7051
7062
7114
7174
7228
I
I
I
I
No.
Description Req'd.
LWY." •••.•. o •o ...... o o oo o o oo. o o o oo oo o o• .0. o6
Nut Ya" •••• o: .. ................. 0 •••• 0 ••••••• 6
Bolt%" a 1" ........ 0 •••• 0 •••••••••••••••••• 0 .6
Bolt 318 a "" • 0 ••••••••••• 0 ••••• 0 •• o 0 0 • 0 • 0 0 • 0 0 2
Washer 317" •.•..• 0 •••••• 0 •••••• 0 0 ••••••• 0 •••• 4
LW 318" ••... , • o .... •• .... • .... 0 0 0. o. 0 0 •• 0. o18
Bolt%" a 518" • ..... •.. 0 0 0 •• 0 0 • 0 0 •• 0 0 0 • 0 0 0 0 0 • 02
LW%" •.•.••.••..•• ......... 00 •••••• 0 ••• o. o .6
"r¥' Ring Seal , •..•. , •••.•• 0 ••••••••• o . 0 ••••• 0 o4
Nut 318" •.•••..••...• ........ •..• · ....... 0 ••• 18
W8Sher 318" •.••••••.•• , , ••• , , •. 0 • • • • • • • • • • • • 2
Nut, SPL ••..••.•.• , .••.. , . , •.. 0 •••••••• 0 • 0 ••• 2
LW 3116" •••••• , •• , •.••.•••.•••.•.•••..• , .••.. II
Nut, 14" •.•.••••••••••••.••••••• .... •.•...•... 6
Bolt5116"a 1 %" •••••••.•.•••.•••••...••.• .... 2
Nut 5116" ••••.•• , •••••...••..•...••.. 0 •••••• o4
Lug Nut •• , •••••••••••••••••••••••••••••••••. 8
Bolt 318" • 2 14" • , ••••••••.•••...•..•.•...• .... 4
King Pin Awy •••••••••••• , ••••.•.••••••••••• , .2
Spring •••.•••••••••••••.. , ................. 2
Washer. SPL , •...••..•...•• • • ........ • ........ 2
Bushing ..•• , ••.•..••••••••••••.••.•..• , •••... 4
Bushing .... •.•...• 0 •••••••••• 0 •••••••••••• 0 •• 4
Bushing ..•...•...•.••.•• .... 0 0 0 ••••••••• 0 •••• 4
Bushing, .... •..•••.•.•.•..•.. 0. 0 ••• • •••••••••• 4
Plate, Spring Retainer , ••••••. , .•• .... ••.•.•... , o3
Hub Ass'y, ••••••••••••••••••••.. , ..• , •.•••... 2
LW 5/16" •••••••••••• ,, , •••••• , • , •• , ••••.••.• 2
Bolt 318" a 3 "" •••.••.•••••••••.•.•••••••• 0 ••• 2
_,-·""
·" ...
1 ~·'
·t~~-·o•;
'.J-:-_,.~
·tir.:~
·~! .,~
lo~
~~
~
Part No.
720
7273
7274
7275
7308
7476
7554
7561
7562
7563
7718
7719
7720
7726
7732
7734
7739
7740
7741
. 7747
7748
7751
7809
7810
7840
4153
4154
7910
\
u.:·::::-!1!1
No.
Description Req'd .
Bolt 318" a 4 Yo" •••••••••••••••••••••••••••••• • 4
Seal, Oil •.••••.•.•••..•••.•••••••.••.•••••••• 2
Bearing, Wh... . ... 0 0 • 0 • • • • • • • •• , ••••••••••• • 4
Cap, Hub 0 •.•. 0 .... . ..••. o .... •• ......... •. 2
Be:>Fin L race .... • 0 •••••• 0 ••••• 0 ••••••••••••••• 4
Bolt • ( a 3 ~" .••• 0 ••• 0. 0 •••• 0 •• 0 ••••••••••• o2
Gr11aw Fitting .... ••. 0 • • • • • • • 0 •• 0 ••••••••••• o&
Bolt J; 8" a :r· • . . . . . . . . . . . . . . . 0 • 0 ••••• 0 ••••• 2
Spindle Ass'y. R.H ••. 0 0 0 • • • • • • • • ••••••••••• 1
Spindle Ass'v. l.H. 0 ••• 0 ••• 0 ••• 0 •••••••••••••••• 1
Nut, SPL ..... ••.••.••••.•.••••••.••••••••••• • 4
Bushing ..•••••.•••.•..•...•••••••••••••••••• . 8
Pivot Pin ...••••••.•••••..•••••••••••••••••••• 2
Clevis Ass'v .••••.•..••••..•••••••••.•••••••••• 2
"A" Frame Ass'y, •••.•••.•••••••••••••••••••••• 2
Yoke, R. H. Spondle •••••••••.•••••••••.••••.••• 1
Spacer ..• .... o ..•..••.•• ..... •.•••••.•••.•.•. 2
Spacer ............. . . • . . 0 •••••••••••••••• 2
Safety Celvis Ass'v •. 0 • 0 • • • • • • 0 •••••••••••••••• 2
Bumper· Rubber ..... •. 0 • 0 • • • • • •••••••••••• 2
Yoke, l.H. Spindle • . . • . . 0 •• 0 0 •• o o ••...••••••. 1
Cowl Br.tce .•..•••• .... 0 •••••••••••• 0 •••••••• 1
Bolt, SPL •...•.•... 0 o .• ..... •• 0 •••••• o ...•••. 2
Nut, SPL .• ....... ••. o ••••••••••••••••• o •••••• 2
Nut, SPL •..••••• ,., •.••.••••••••••••••••• , ••• 2
"A" Frame Mounting Plata ••.•••••••••••••••••••• 1
"A" Frame Henger Plate ••••••••••••••••••••••.•• 1
Cotter •••..•••••...••.•..••..•.•••••••••••••• 2
,·'
::::tJ
0
z
~
CJ)
~
""0
m
z
5:Q
0
z
Cl
::::tJ
0
c
""0
-o
r
,(')
!e
.....
.... ,
-· Z!
n.
r-:
c:
c
m
~
~
z
c:
~
m
m
:D
~-
~-
n:
:::t·
I
.,.
)>,
:D
-tl
0!
:D,
Ci
m:
:Di
m•
c'
. I
.... ,
Part No.
304
:no
3157
4111
708
102B
1218
1242
usoe
7043
71111
7118
7138
7183
7173
7174
7228
7265
72BO
7348
7349
7360
7351
7352
7353
OIAu.l
Bii.1Di&
No.
Desaiption Req'd.
Bolt ll" 11 1 14" ••.••••••..•...•.••• ..... • ...... 2
Bolt 318" • 1" •••.••••••.•.••.••..•..• ..... •.. ~
LW318" • •••••••••••••••••••••.••.•••...• ..... 3
LWW." ••.•••••••••.•••••• ..... •••••.• ....... 4
Nut 31B" ••••.. , , •.•... , •.•• , •..•..•... , • ..... 2
~~ .•• _ •••••••.•••••••••.••.••• ..... 4
Bolt 11116" a 1 14",, , . , .• , ...• ...... , • , . , . , .... 6
· Nut1i7'n!"' ; ••••••.• , . , •• , •.•••• , ••••..•• ...... 6
Rivet 3116" • 3116" •..••••.••.• ...... ••.• ...... B
Pedal Pad ••••.•• , ••• , .•••• , •••••.••••••• .... • 1
Brake Cluoter Aflly., LH, , •.••••••••••••.••..•••. 1
Brake Clultar Aflly,, R.H,, • , , •.•• , •.•.••• , ..•...• 1
Brake Pedal Allfy •••••• , ••• , •.• , •••.••.•.• , •.•.. 1
PluniJW Allfy ••• , , , , , •• , ••. , ••••••. , ••••••• .... 1
Bolt 6116" x "" ••••••••••••.•..•.•••...• ...... 2
LW 5/16" ...... , •••.. , •.•••. , ...•••• · •...• ,, .. 8
Bolt 31B" x 3 "" , •.••••.••••••••.•••••••...•... 1
Clip ...•.•..•••.•..•.••••...••.•...•..•..•... 4
Metter Cylinder .•••...•••• .... ••.• ..... ••••.•.. 1
Matter Cylendar Service Kit ••.• , ••. , , ...•• AI Req'd.
Brake Drum ...••••.•• , ••••. , ..••.••.•••.•..•. 2
Clurter Plato R.H •.•.• ........ • .............. ••. 1
Clutter Plata L.H .•••..•...• .................... 1
Brake Shoe ................................... 4
Ad)ultment Body .... •.•...•..••..•..•..••• .... 2
WI. IIIIC.LUDU !TCWS ... ~., ........
lJ.»·•NCLUDIS I'IWS &.1• "-o"~AC:Je
lllt · •MC.LvDU ruws ,IO,r•. ~or IACif
l.UA·•"'<.'-ueu ,,, .. , &114'<5-).h IPCSl
~:::~~~=~ :~~:: ~::;· ~=:=~=
~ • 1 H<.L.uots .,,.. •t.•• tr•o or 1'-atl
.-AW
awzrwtllftN.PAI'''
AM til(, ...... [OI .. I'M .
Jd'JA I !MIT "*M lltM f' ...
5
\,
No.
Part No.
Description
Req'd.
7357
7368
7359
7360
7361
7362
7487
7490
7549
7550
7561
7562
7653
7572
7574
758B
7594
7595
7596
7623
7625
7643
7713
7714
7716
Cylinder Replacement Kit ••••••••••••••••• Aa Req'd.
Cylinder Service Kit •• , • , •••••• , •••••• , •• Aa Req'd. ·
Spring Reulner Kit , •••••• , •.•.••• , •• , ••• A1 Req'd.
Adl utt!Mnt Service Kit •••.•••.•• , ••..•.•. At Req'd.
Adaptor, Brake Line ...•.••..• , .•••••• , .•• ...... 1
Adaptor Bolt (I ncludott Wuhan) •..•.•..••• ........ 1
Spring .••. , ..... ,,., .•..• ,, •• ,,., •••.•... , ••. 2
Brake Stop A11'y, •••• , ••.•• , .•. , ••••••.•••••..• 2
Plug ....... •...••.•..••.•• ,, ••• , •.•••••...••. 1
Mala Connector ..•.•••• , •••• , , , , • , , , •. , , •••• , , . \
1/B" Female Coupling., •• ,, •• , •• ,, •• ,, ••••• ,., •. 1,
8re11 "T" Fitting .... •••••••• , •• , •• , ••••••• , ••• 1
1.11" HoM Allfy. • ..•••..••••.• , •••• , , , , ••• , •.•• 1
Square Broke Line Clamp • , •.•.••• , • , , , ••••••• , , .1
Brake Line Clamp Allfy ........... , .... , ......... 1
Hudraulic HoM Mounting Aflly,., •••• , •••••••• , ••• 1
Brake Line Allfy, R.H •.••••.• , ••••••••••••.•...• 1
Brake Line Allfy, LH •..••.••••..••.•.••••••••.. 1
Main Brake Line A Iffy •••••• , •••.••••••••••..•••• t
Brek a Arm · Manuel L H. , • , ••• , • , , , , ••..••..• , • ,1
Brake Arm· Manual R.H •.•...••• , •••••••••.•••.• 1
Hudraullc Hose Au'y. Complete •••••••..•••...•••. 1
Piston Service Kit ...... • ..... •.•••...••• A1 Req'd.
Wheel Cylinder Retainer Kit , ...•.••...•.•• AI Req'd.
Spring SlntiCI Kit •..•.• , • , ••.••••• , • , ••• AI Req'd.
:t:
-<
0
:lJ
>
c
r
n
CD
:D
>
;'\
m
G)
:D
0
c
"0
"'0
r
n
~
.... ,
N
You're Reading a Preview
What's Included?
Lifetime Access
Access PDF Contents & Bookmarks
Print one or all pages of your manual